首页
专利数据库
产业人才
行业动态
产业政策法规
维权援助
个人中心
登录/注册
详情
文本
图像
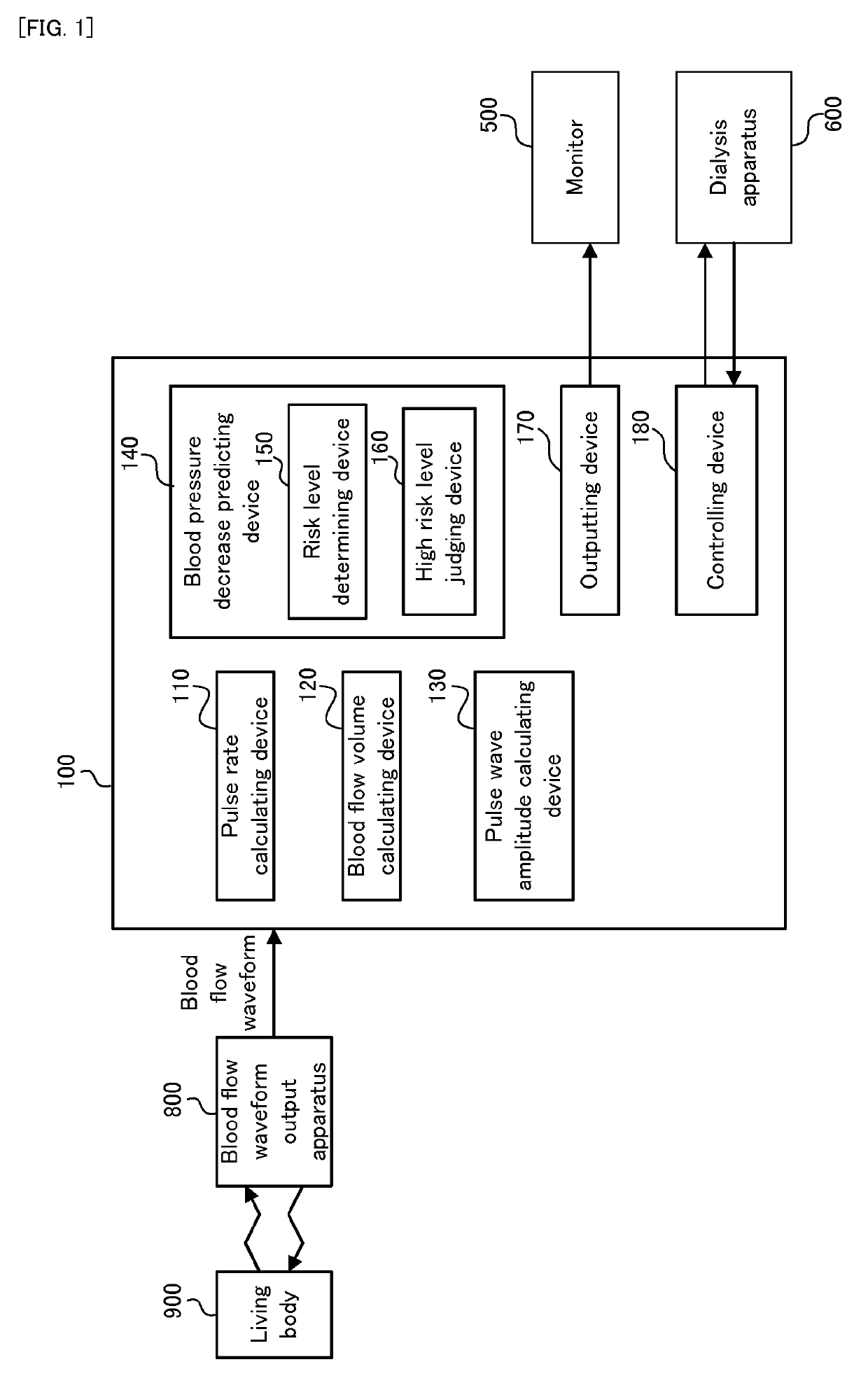
标题:
Hypotension-predicting device
授权日:
2016-11-30
公开(公告)号:
EP2730302B1
申请日:
2011-07-06
公开(公告)日:
2016-11-30
当前申请(专利权)人:
PIONEER CORPORATION
发明人:
MORI, SHUNTARO | KIMURA, YOSHINORI | ITO, ATSUYA | GOMA, MASAKI
简单同族:
EP2730302A1 | EP2730302A4 | EP2730302B1 | EP2730302B8 | WO2013005320A1
简单同族成员数量:
5
简单同族被引用专利总数:
13
诉讼案件数:
0
法律状态/事件:
授权 | 权利转移