标题:
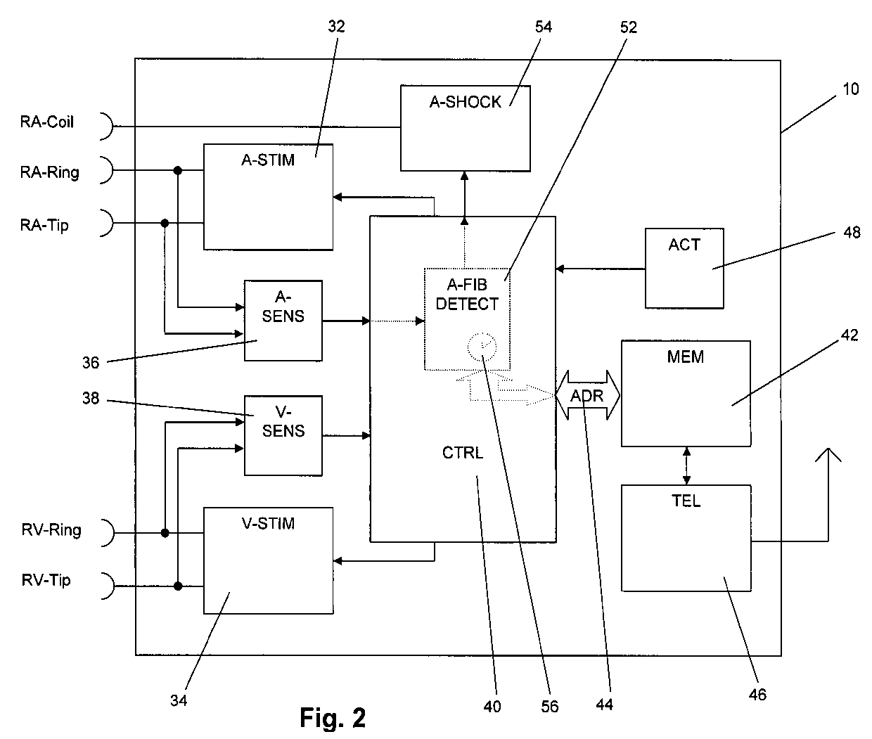
Implantable medical device with transmission of an atrial fibrillation message
授权日:
1900-01-01
公开(公告)号:
EP1935451A1
申请日:
2007-11-28
公开(公告)日:
2008-06-25
当前申请(专利权)人:
BIOTRONIK CRM PATENT AG
发明人:
ALBUS, MARCO, DR. | DIEM, BJÖRN HENRIK, DR. | MÜSSIG, DIRK, DR. | KRAETSCHMER, HANNES, DR.
简单同族:
EP1935451A1 | US20080154318A1
简单同族成员数量:
2
简单同族被引用专利总数:
17
诉讼案件数:
0
法律状态/事件:
撤回