标题:
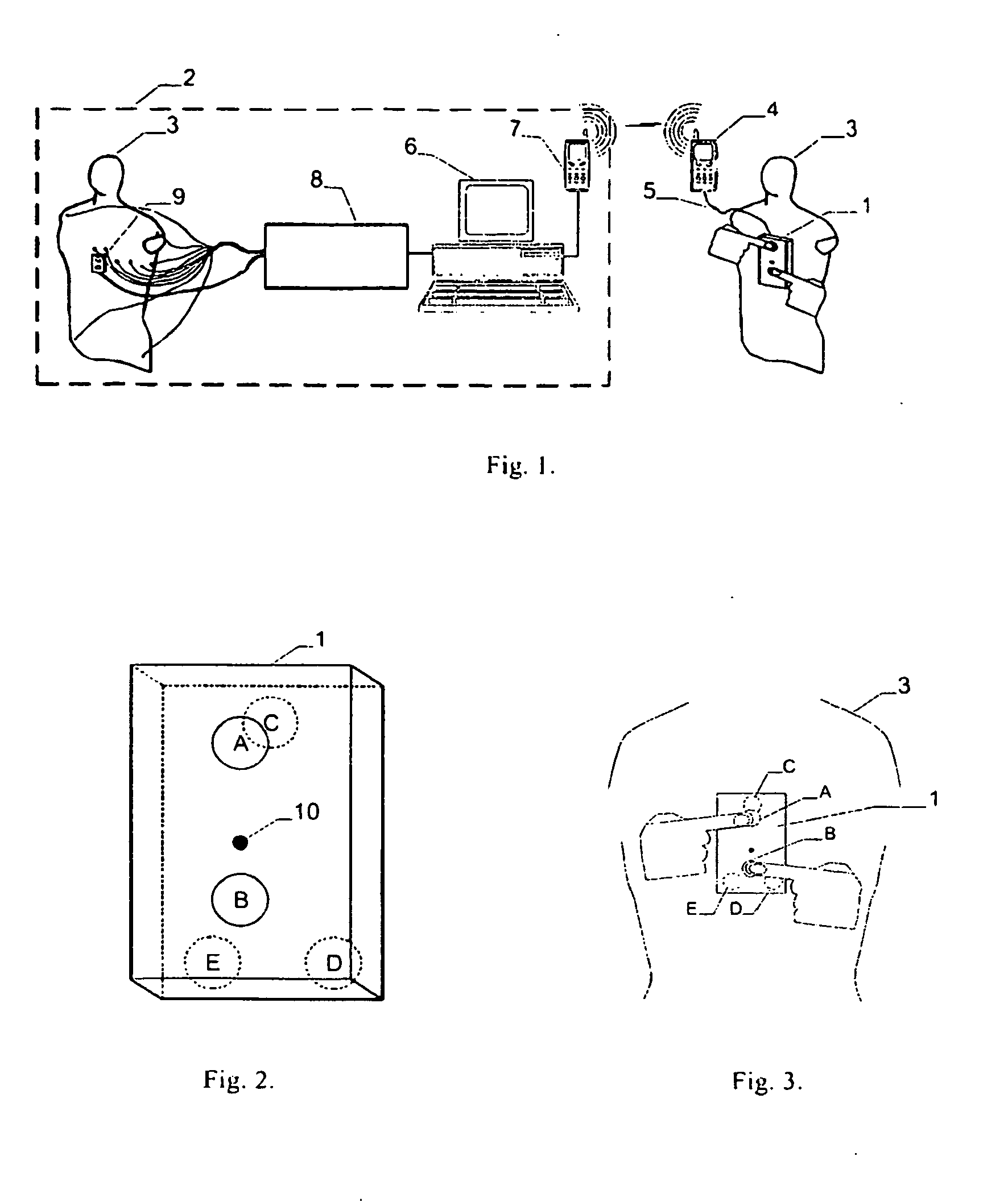
Apparatus and method for cordless recording and telecommunication transmission of three special ECG leads and their processing
授权日:
2007-12-26
公开(公告)号:
EP1659936B1
申请日:
2004-08-19
公开(公告)日:
2007-12-26
当前申请(专利权)人:
NEWCARDIO, INC.
发明人:
BOJOVIC, BOSKO | HADZIEVSKI, LJUPCO | BELICEV, PETAR
简单同族:
AT381903T | CN100435723C | CN1870937A | DE602004010917D1 | DE602004010917T2 | EP1659936A1 | EP1659936B1 | EP1659936B8 | ES2298826T3 | JP2007502679A | JP5095998B2 | PL1659936T3 | US20060217620A1 | US7647093 | WO2005018447A1
简单同族成员数量:
15
简单同族被引用专利总数:
77
诉讼案件数:
0
法律状态/事件:
授权 | 权利转移