首页
专利数据库
产业人才
行业动态
产业政策法规
维权援助
个人中心
登录/注册
详情
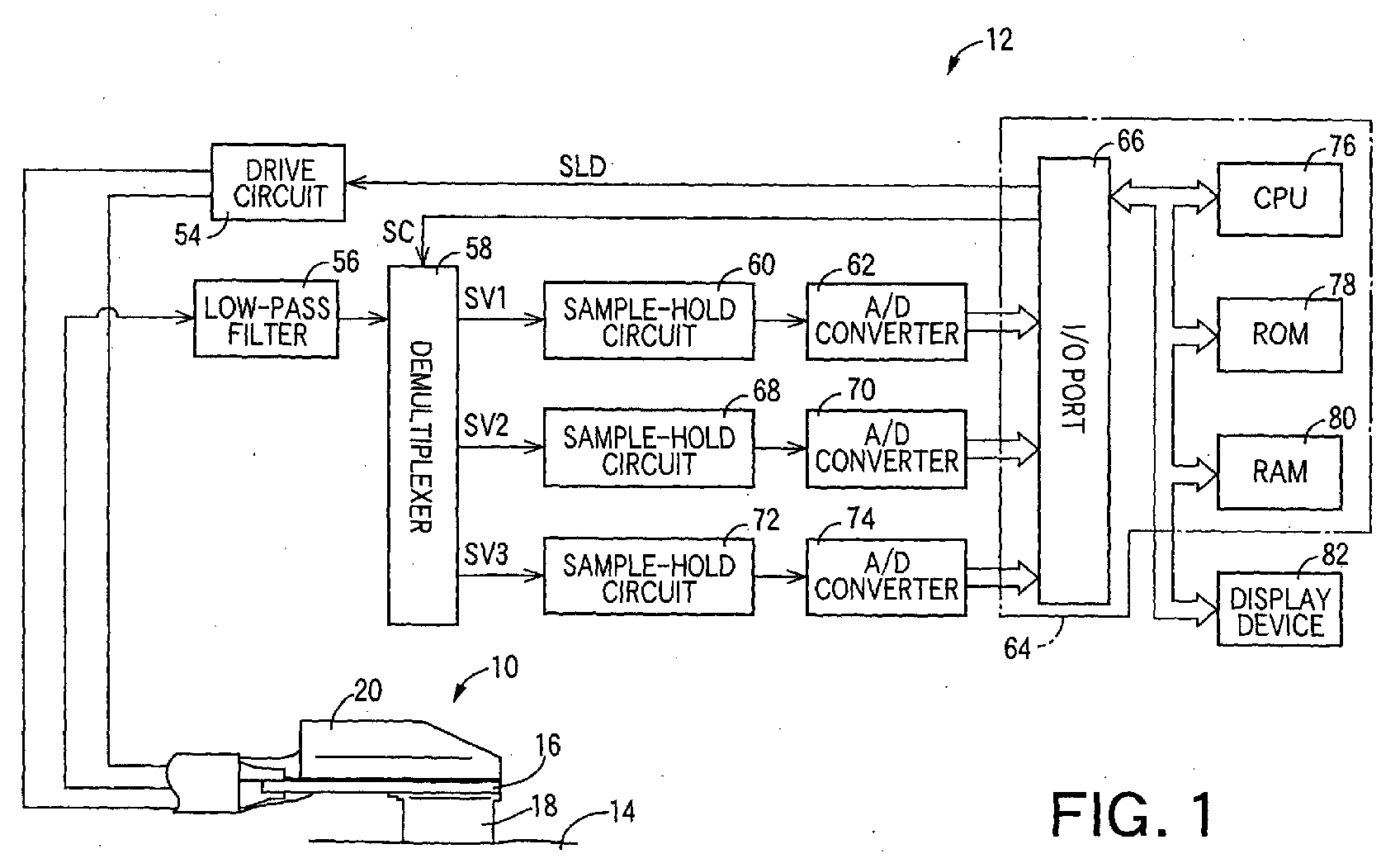
文本
图像
标题:
Oxygen-saturation measuring apparatus
授权日:
1900-01-01
公开(公告)号:
EP1250885A2
申请日:
2001-12-18
公开(公告)日:
2002-10-23
当前申请(专利权)人:
COLIN CORPORATION
发明人:
TAKATANI, SETSUO
简单同族:
EP1250885A2 | EP1250885A3 | JP2002303576A | US20020173706A1
简单同族成员数量:
4
简单同族被引用专利总数:
127
诉讼案件数:
0
法律状态/事件:
撤回