首页
专利数据库
产业人才
行业动态
产业政策法规
维权援助
个人中心
登录/注册
详情
文本
图像
标题:
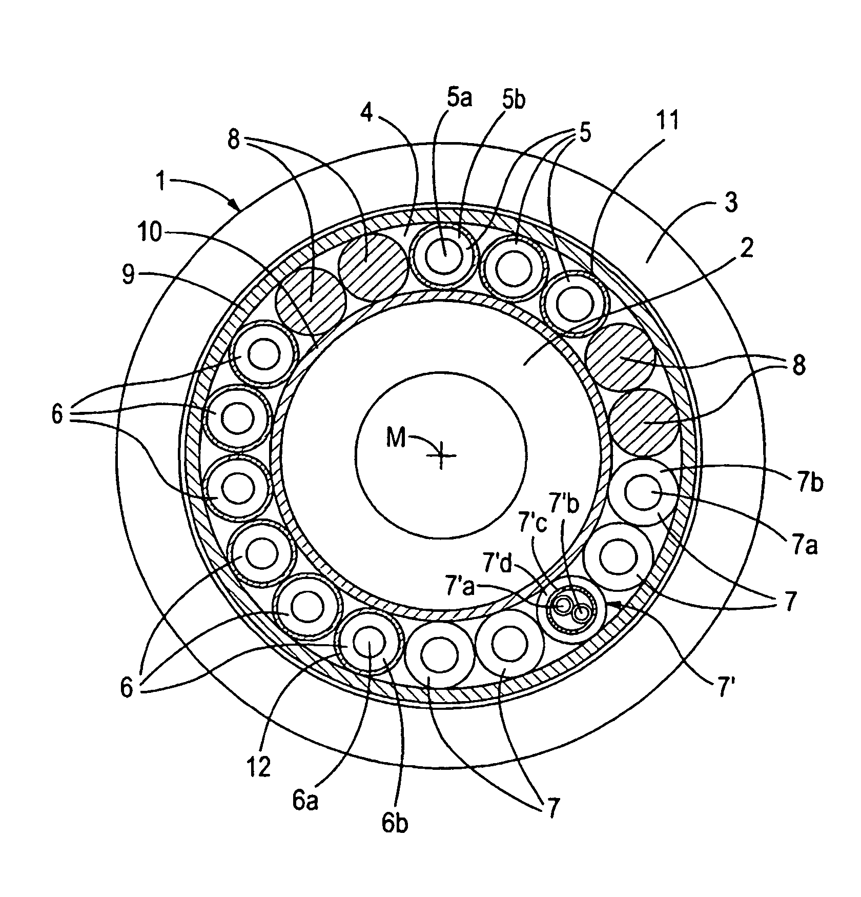
Transmission cable for medical signal values
授权日:
2005-11-02
公开(公告)号:
EP1285446B1
申请日:
2002-03-13
公开(公告)日:
2005-11-02
当前申请(专利权)人:
LEONI KABEL GMBH & CO KG
发明人:
WECHSLER, PETER
简单同族:
AT308793T | DE50204749D1 | EP1285446A1 | EP1285446B1 | JP2004519833A | US20030056971A1 | US6833506 | WO2002086915A1
简单同族成员数量:
8
简单同族被引用专利总数:
13
诉讼案件数:
0
法律状态/事件:
权利终止