首页
专利数据库
产业人才
行业动态
产业政策法规
维权援助
个人中心
登录/注册
详情
文本
图像
标题:
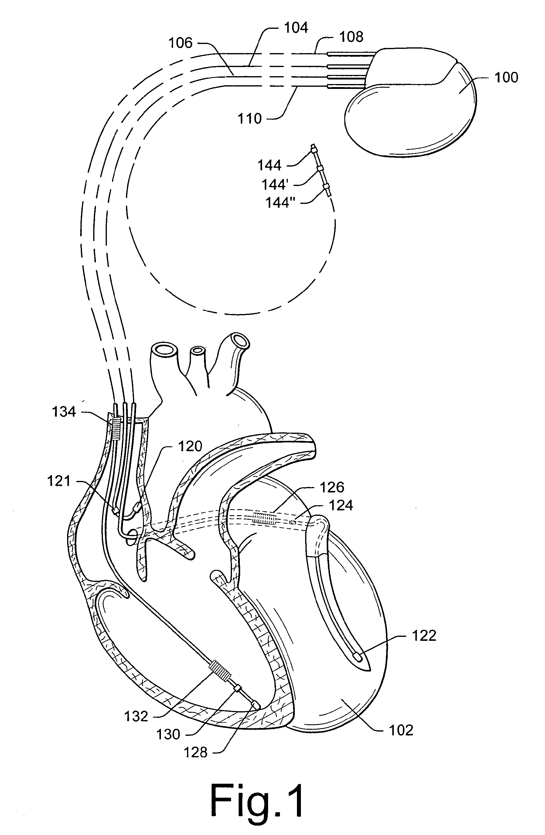
Implantable cardiac diagnostic system
授权日:
1900-01-01
公开(公告)号:
EP1731088A1
申请日:
2006-06-05
公开(公告)日:
2006-12-13
当前申请(专利权)人:
PACESETTER, INC.
发明人:
MIN, XIAOYI | PARK, EULJOON | OHLANDER, MALIN
简单同族:
DE602006010476D1 | EP1731088A1 | EP1731088B1 | US20060276848A1 | US7430447
简单同族成员数量:
5
简单同族被引用专利总数:
110
诉讼案件数:
0
法律状态/事件:
授权