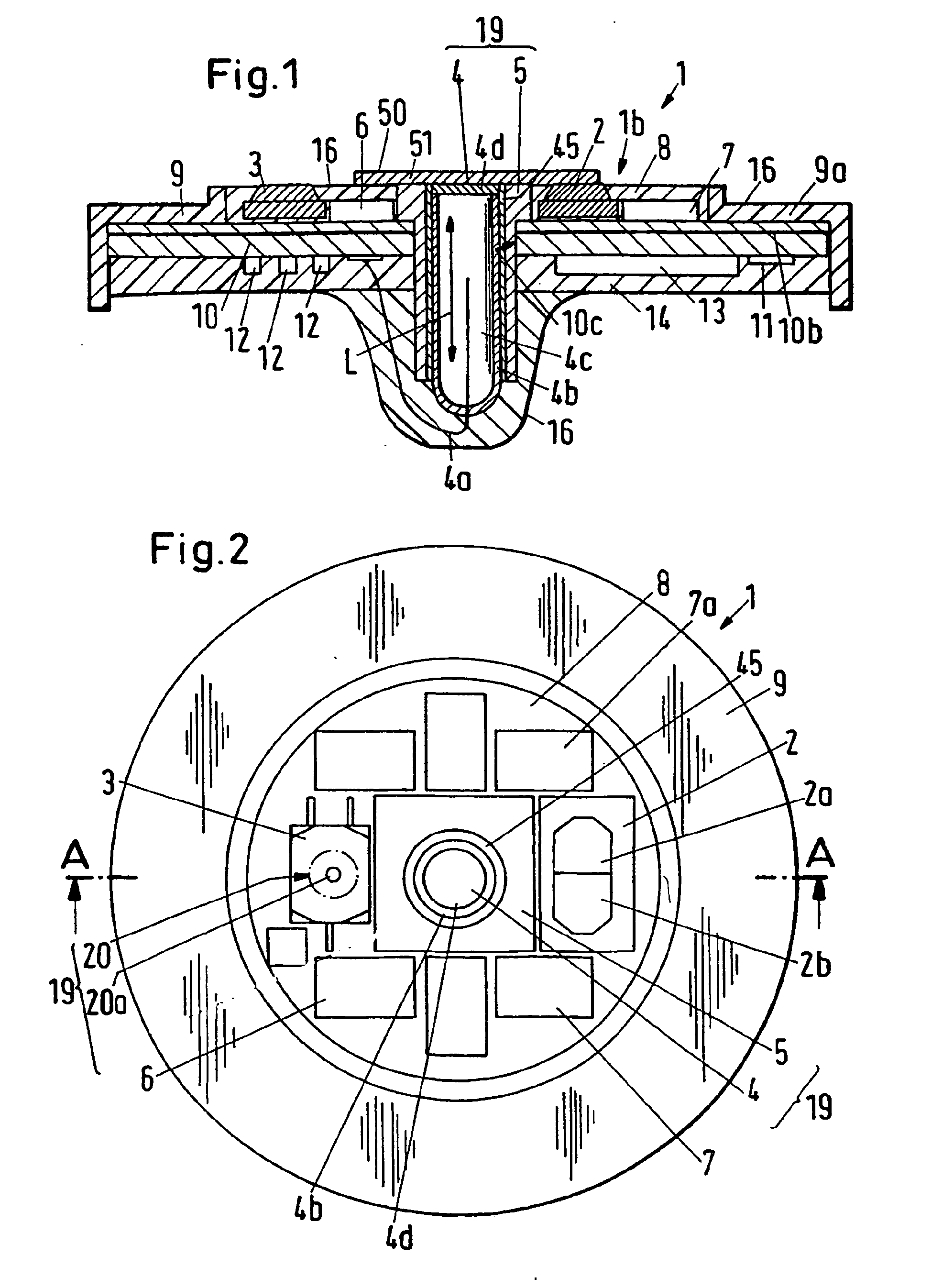
标题:
Sensor and method for measuring physiological parameters
授权日:
2007-01-03
公开(公告)号:
EP1335666B1
申请日:
2001-11-23
公开(公告)日:
2007-01-03
当前申请(专利权)人:
SENTEC AG
发明人:
TSCHUPP, ANDRES | LANG, JOSEPH | ROOST, MATTHIAS
简单同族:
AU2002223352A1 | CA2466105A1 | CA2466105C | DE50111822D1 | DK1335666T3 | EP1335666A1 | EP1335666B1 | ES2278818T3 | HK1059553A | JP2004515274A | WO2002041770A1
简单同族成员数量:
11
简单同族被引用专利总数:
13
诉讼案件数:
0
法律状态/事件:
授权