首页
专利数据库
产业人才
行业动态
产业政策法规
维权援助
个人中心
登录/注册
详情
文本
图像
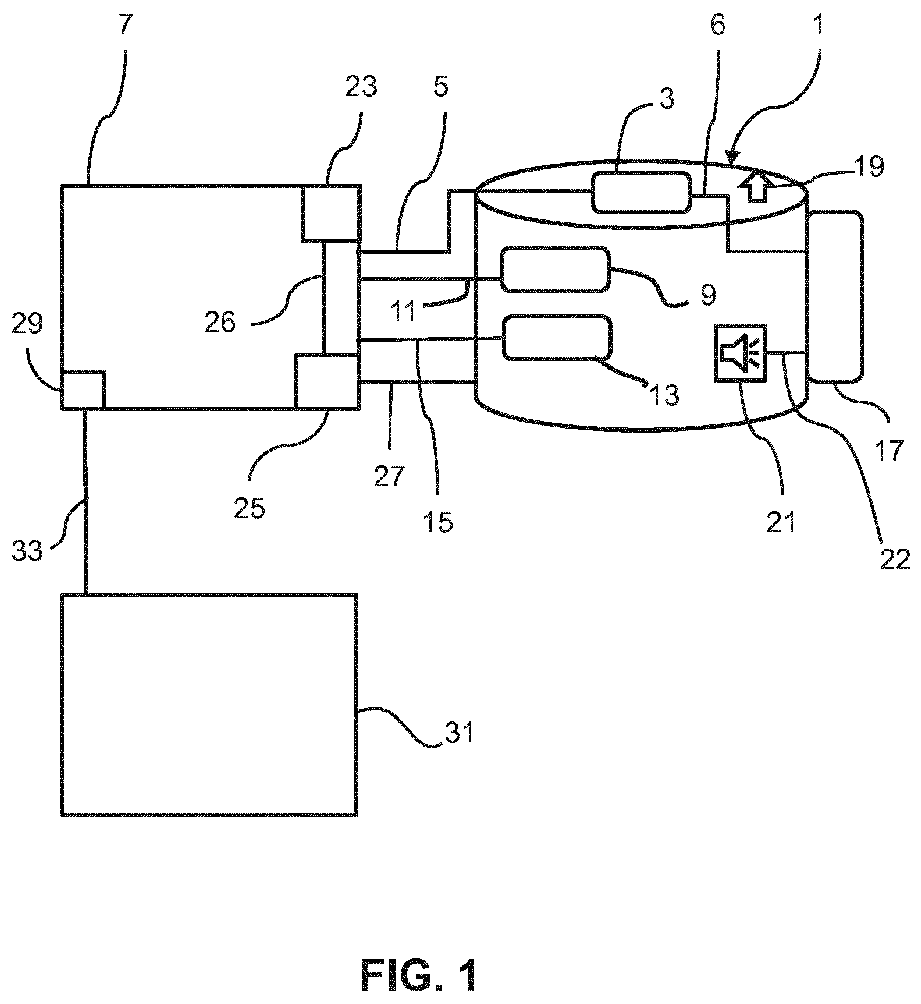
标题:
Blood pressure monitoring
授权日:
1900-01-01
公开(公告)号:
EP3513717A1
申请日:
2018-01-23
公开(公告)日:
2019-07-24
当前申请(专利权)人:
KONINKLIJKE PHILIPS N.V.
发明人:
VAN HEESCH, CHRISTIANUS MARTINUS | VAN HEESCH, FRANCISCUS HENDRIKUS | DE WILD, NICO MARIS ADRIAAN | PAULUSSEN, IGOR WILHELMUS FRANCISCUS | BEZEMER, RICK
简单同族:
EP3513717A1
简单同族成员数量:
1
简单同族被引用专利总数:
0
诉讼案件数:
0
法律状态/事件:
公开 | 权利转移