首页
专利数据库
产业人才
行业动态
产业政策法规
维权援助
个人中心
登录/注册
详情
文本
图像
标题:
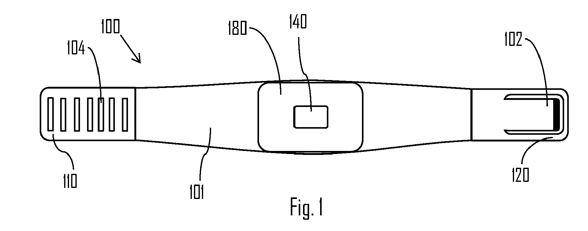
Wrist-worn apparatus for optical heart rate measurement
授权日:
1900-01-01
公开(公告)号:
EP2995243A1
申请日:
2015-08-07
公开(公告)日:
2016-03-16
当前申请(专利权)人:
POLAR ELECTRO OY
发明人:
KOKKONEVA, OLLI | LUMME, LAURI
简单同族:
CN105433933A | EP2995243A1 | US20160066842A1
简单同族成员数量:
3
简单同族被引用专利总数:
4
诉讼案件数:
0
法律状态/事件:
实质审查