标题:
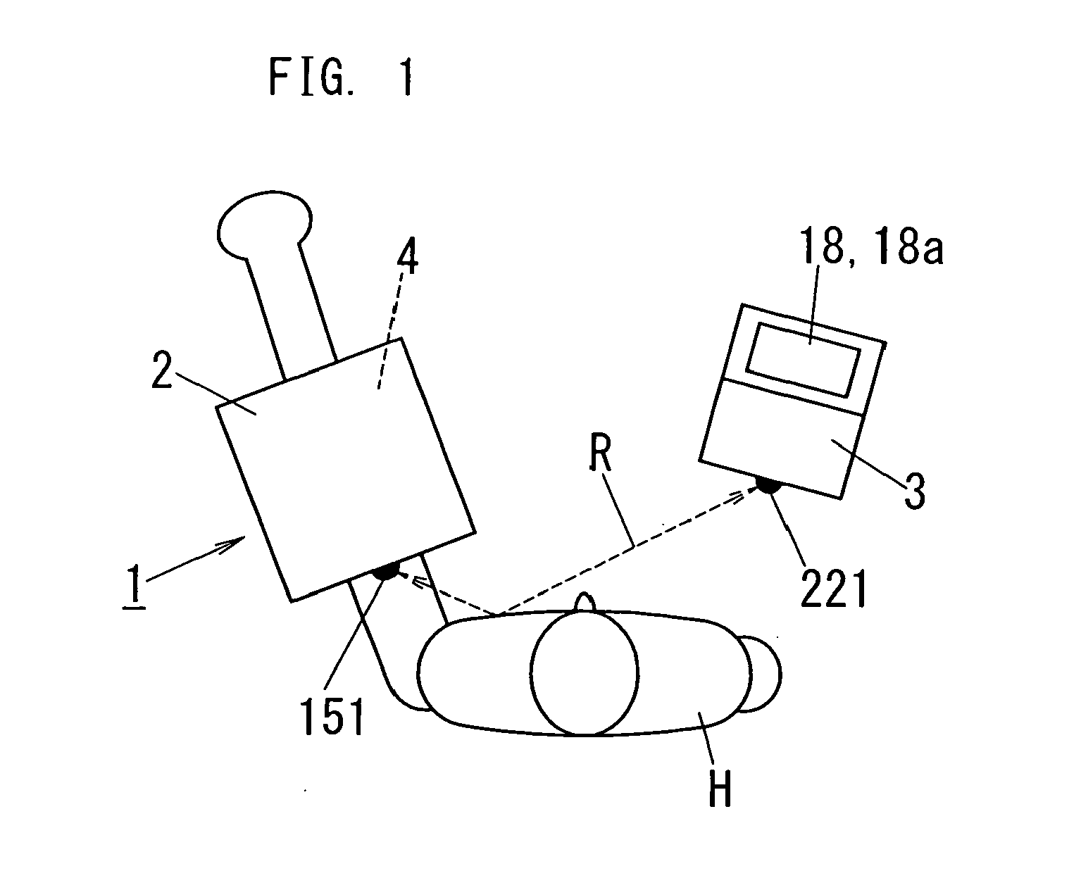
Blood pressure manometer
授权日:
1900-01-01
公开(公告)号:
EP1932467A2
申请日:
2007-11-29
公开(公告)日:
2008-06-18
当前申请(专利权)人:
PANASONIC CORPORATION
发明人:
KOJIMA, TAKESHI | YUASA, TSUYOSHI | FUMURO, SHINICHI | KANETSUNA, YOSHITOSHI
简单同族:
CN101204322A | CN101204322B | CN201143204Y | EP1932467A2 | EP1932467A3 | JP2008148767A | JP4770727B2 | US20080146949A1 | US8226567
简单同族成员数量:
9
简单同族被引用专利总数:
10
诉讼案件数:
0
法律状态/事件:
撤回 | 权利转移