首页
专利数据库
产业人才
行业动态
产业政策法规
维权援助
个人中心
登录/注册
详情
文本
图像
标题:
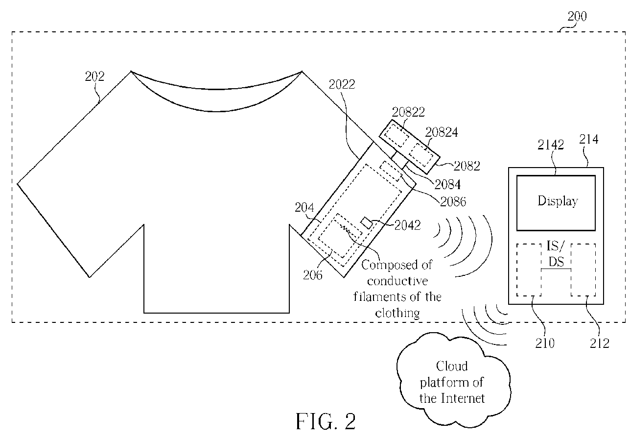
Blood pressure measurement system
授权日:
1900-01-01
公开(公告)号:
EP2594194A1
申请日:
2012-03-08
公开(公告)日:
2013-05-22
当前申请(专利权)人:
ZOETRONICS TECHNOLOGY CO., LTD.
发明人:
CHEN, JEN-RAN | LEE, REN-GUEY | LAI, CHIEN-CHIH | WANG, HSI-WEN | CHEN, CHUN-CHANG
简单同族:
EP2594194A1 | TW201320958A | US20130131524A1
简单同族成员数量:
3
简单同族被引用专利总数:
0
诉讼案件数:
0
法律状态/事件:
撤回