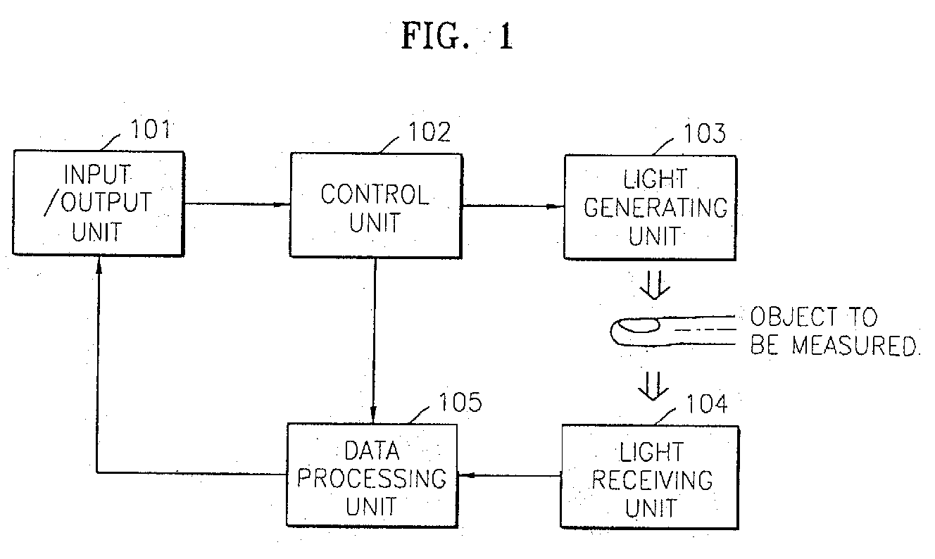
标题:
Diagnostic method and apparatus using light
授权日:
1900-01-01
公开(公告)号:
EP1344488A2
申请日:
2003-03-14
公开(公告)日:
2003-09-17
当前申请(专利权)人:
SAMSUNG ELECTRONICS CO., LTD.
发明人:
YOON, GIL-WON | KIM, HONG-SIG, 180 GEUMGOK-DONG | JEON, KYE-JIN | LEE, JONG-YOUN | PARK, KUN-KOOK | KIM, SU-JIN | JWA, HOON-JONG
简单同族:
CN100335001C | CN1444906A | EP1344488A2 | EP1344488A3 | EP1834577A2 | EP1834577A3 | JP2003265446A | KR100455289B1 | KR1020030075225A | US20030236647A1 | US6990426
简单同族成员数量:
11
简单同族被引用专利总数:
267
诉讼案件数:
0
法律状态/事件:
撤回