标题:
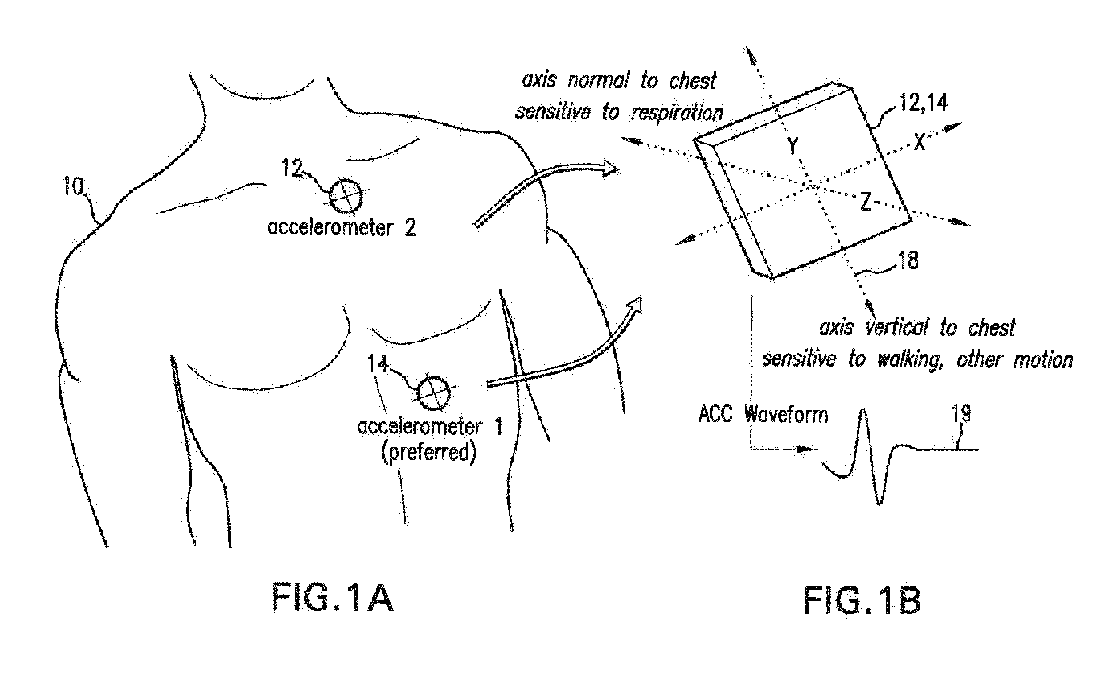
Body-worn monitor for measuring respiration rate
授权日:
1900-01-01
公开(公告)号:
EP2910182A2
申请日:
2010-09-14
公开(公告)日:
2015-08-26
当前申请(专利权)人:
SOTERA WIRELESS, INC.
发明人:
MCCOMBIE, DEVIN | DHILLON, MARSHAL | BANET, MATT
简单同族:
EP2470068A2 | EP2470068A4 | EP2470068B1 | EP2910182A2 | EP2910182A3 | SG10201405698RA | SG179128A1 | US10123722 | US10595746 | US20110066007A1 | US20110066008A1 | US20110066037A1 | US20110066038A1 | US20110066039A1 | US20110066062A1 | US20140276175A1 | US20190076054A1 | US8545417 | US8622922 | US8740807 | US9339211 | WO2011032132A2 | WO2011032132A3
简单同族成员数量:
23
简单同族被引用专利总数:
250
诉讼案件数:
0
法律状态/事件:
实质审查