首页
专利数据库
产业人才
行业动态
产业政策法规
维权援助
个人中心
登录/注册
详情
文本
图像
标题:
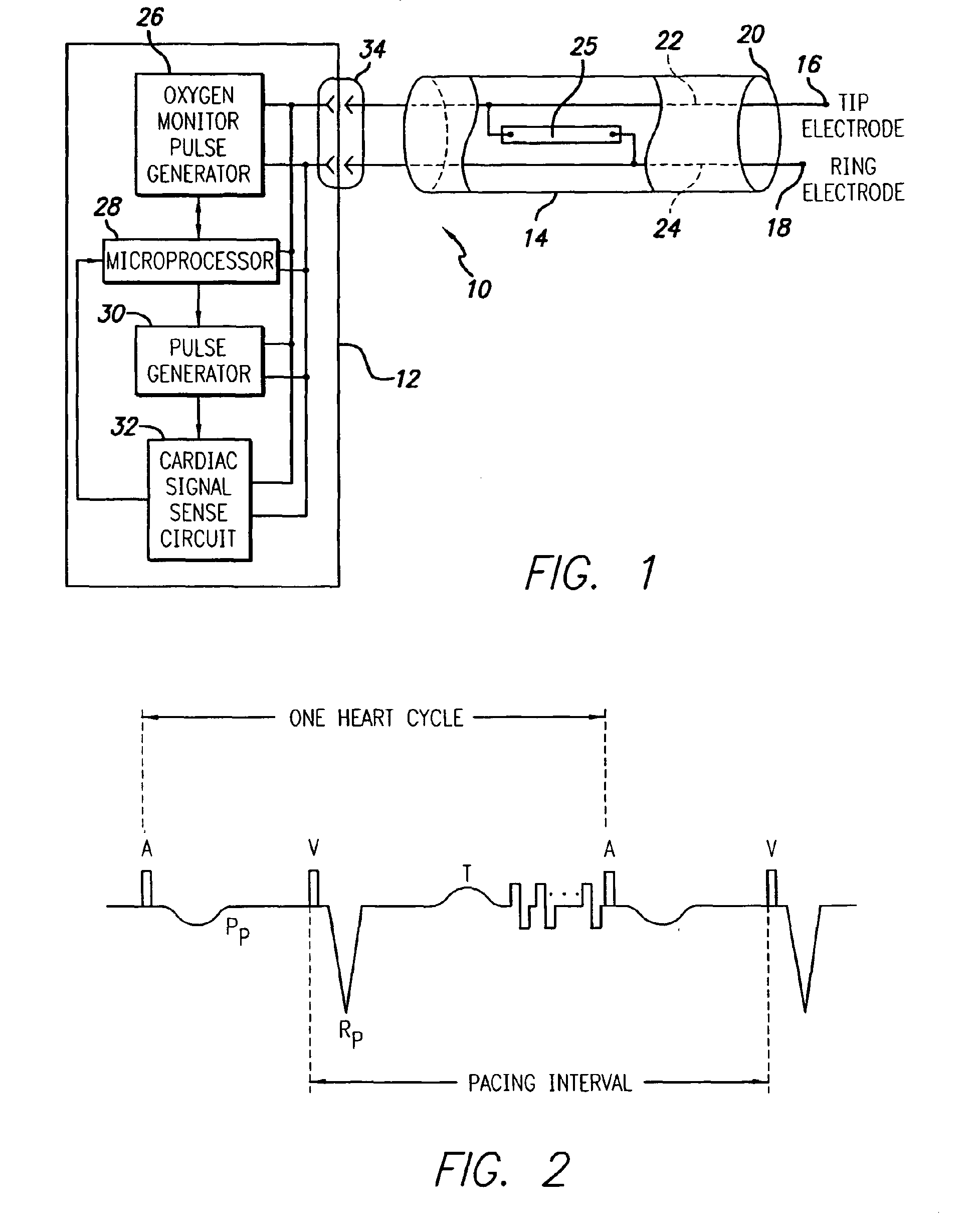
Blood oxygen monitoring system
授权日:
2011-03-23
公开(公告)号:
EP1468641B1
申请日:
2004-03-24
公开(公告)日:
2011-03-23
当前申请(专利权)人:
ALFRED E. MANN FOUNDATION FOR SCIENTIFIC RESEARCH
发明人:
SCHULMAN, JOSEPH H.
简单同族:
DE602004031898D1 | EP1468641A2 | EP1468641A3 | EP1468641B1 | US20040210263A1 | US7136704
简单同族成员数量:
6
简单同族被引用专利总数:
76
诉讼案件数:
0
法律状态/事件:
权利终止