首页
专利数据库
产业人才
行业动态
产业政策法规
维权援助
个人中心
登录/注册
详情
文本
图像
标题:
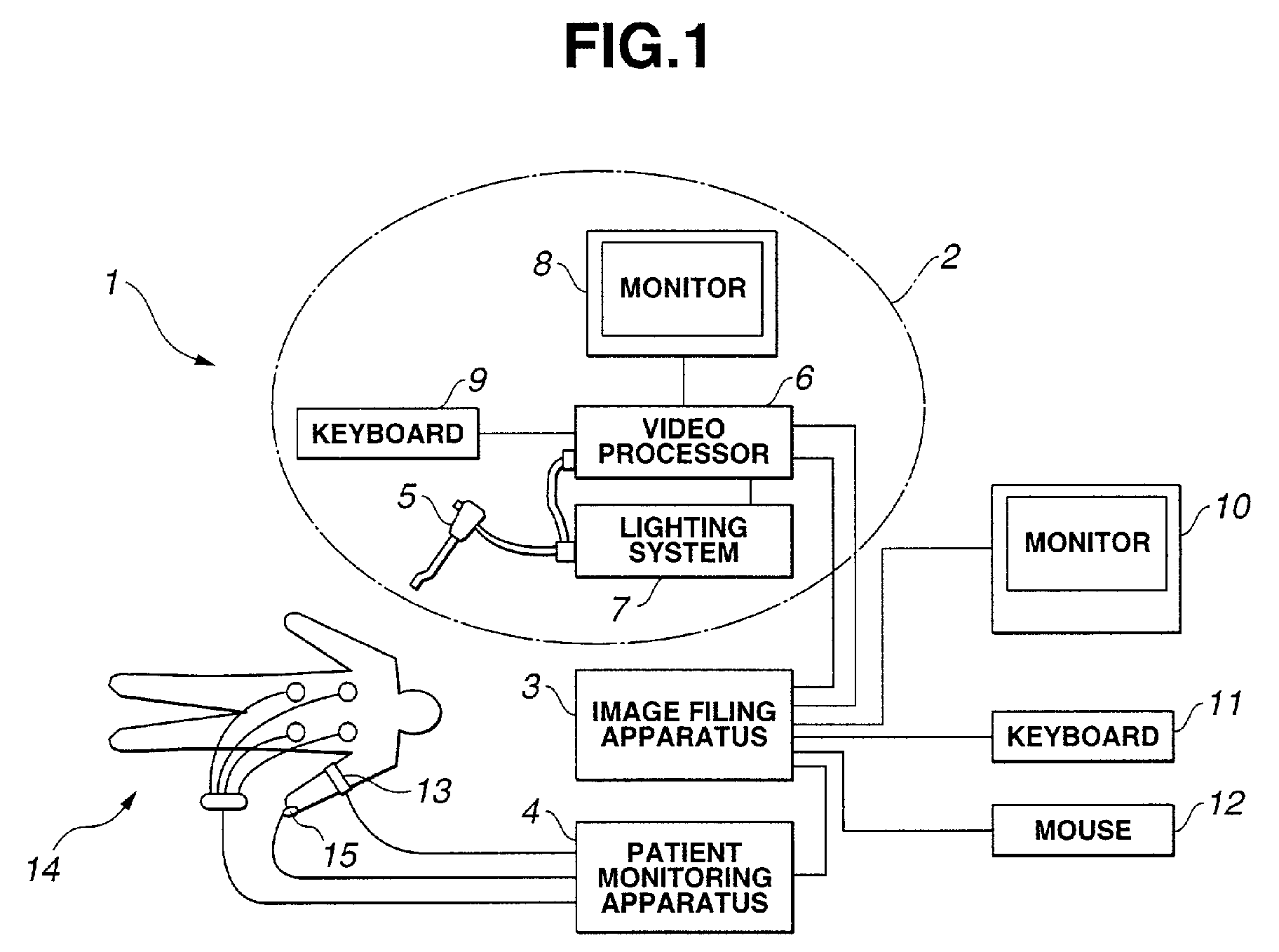
Endoscopic image filing system
授权日:
1900-01-01
公开(公告)号:
EP1394686A1
申请日:
2002-08-30
公开(公告)日:
2004-03-03
当前申请(专利权)人:
OLYMPUS CORPORATION
发明人:
SHIBATA, HIROYUKI
简单同族:
AT368262T | DE60221387D1 | DE60221387T2 | EP1394686A1 | EP1394686B1 | ES2290224T3 | US20040044269A1
简单同族成员数量:
7
简单同族被引用专利总数:
16
诉讼案件数:
0
法律状态/事件:
授权 | 权利转移