首页
专利数据库
产业人才
行业动态
产业政策法规
维权援助
个人中心
登录/注册
详情
文本
图像
标题:
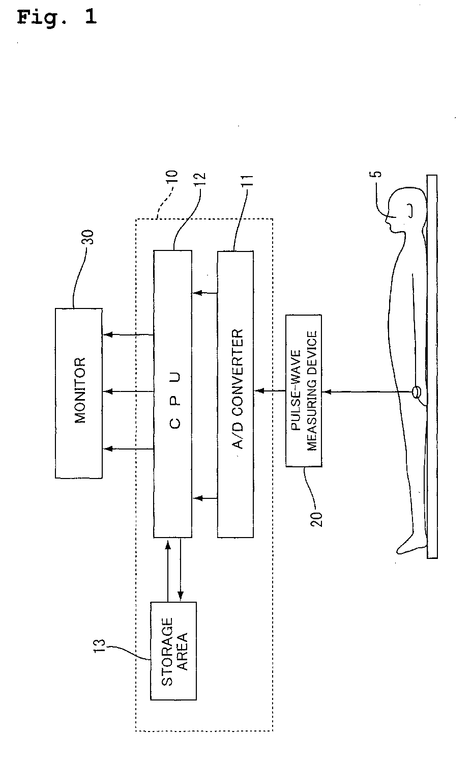
Biological data observation apparatus
授权日:
1900-01-01
公开(公告)号:
EP1317902A1
申请日:
2002-12-09
公开(公告)日:
2003-06-11
当前申请(专利权)人:
KABUSHIKI GAISHA K-AND-S
发明人:
KONDO SHINJI | SAKAKIBARA NORIAKI | TAKEMOTO TORU | HONDA TOSHIHIRO
简单同族:
DE60207183D1 | DE60207183T2 | EP1317902A1 | EP1317902B1 | US20030109791A1 | US6953435
简单同族成员数量:
6
简单同族被引用专利总数:
104
诉讼案件数:
0
法律状态/事件:
权利终止 | 权利转移