首页
专利数据库
产业人才
行业动态
产业政策法规
维权援助
个人中心
登录/注册
详情
文本
图像
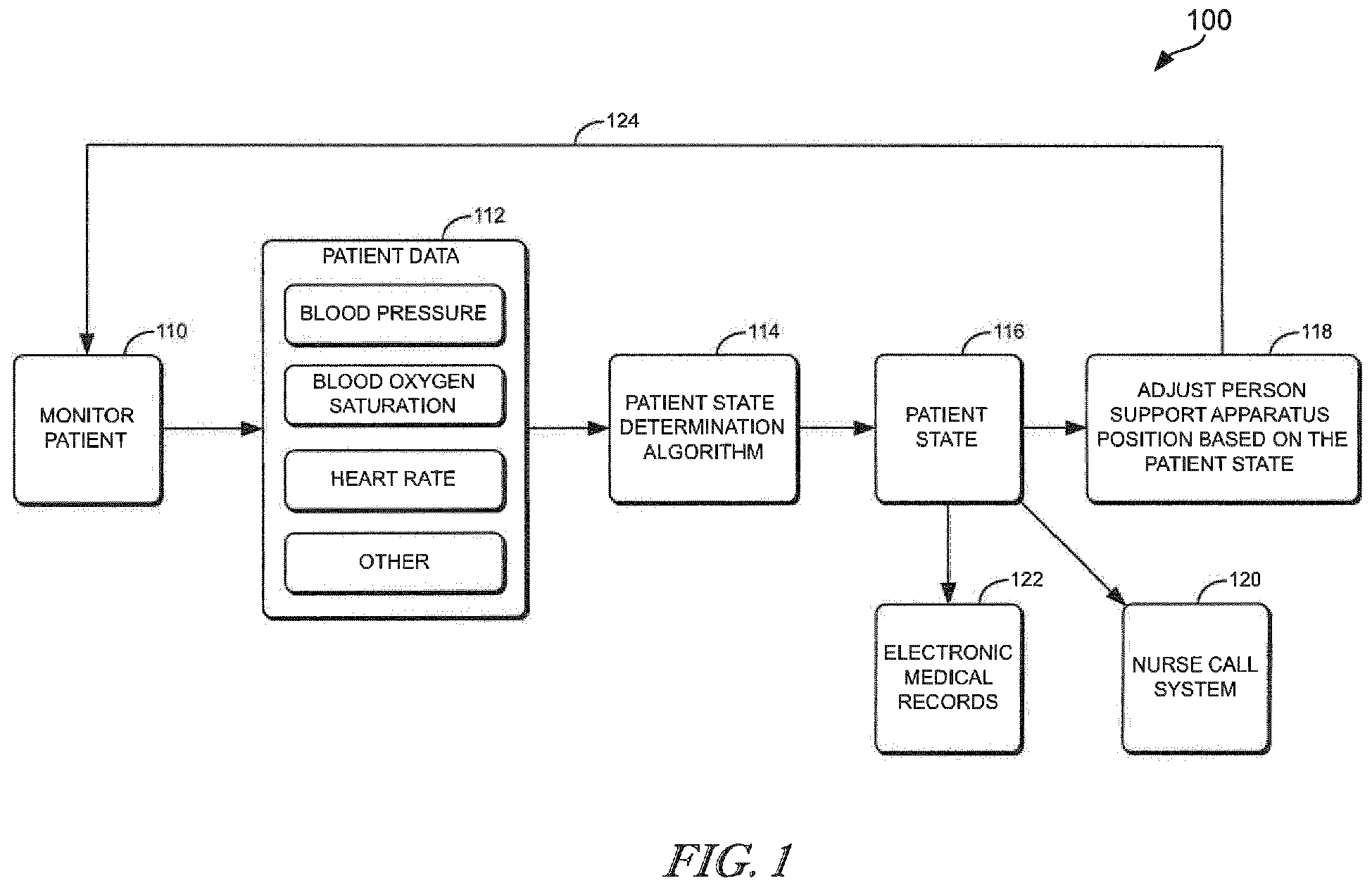
标题:
Monitoring a patient's state to control the patient support
授权日:
1900-01-01
公开(公告)号:
EP3058869A1
申请日:
2016-02-15
公开(公告)日:
2016-08-24
当前申请(专利权)人:
ALLEN MEDICAL SYSTEMS, INC.
发明人:
DRAKE, JESSE S
简单同族:
EP3058869A1 | JP2016165448A | US20160235610A1
简单同族成员数量:
3
简单同族被引用专利总数:
8
诉讼案件数:
0
法律状态/事件:
撤回