标题:
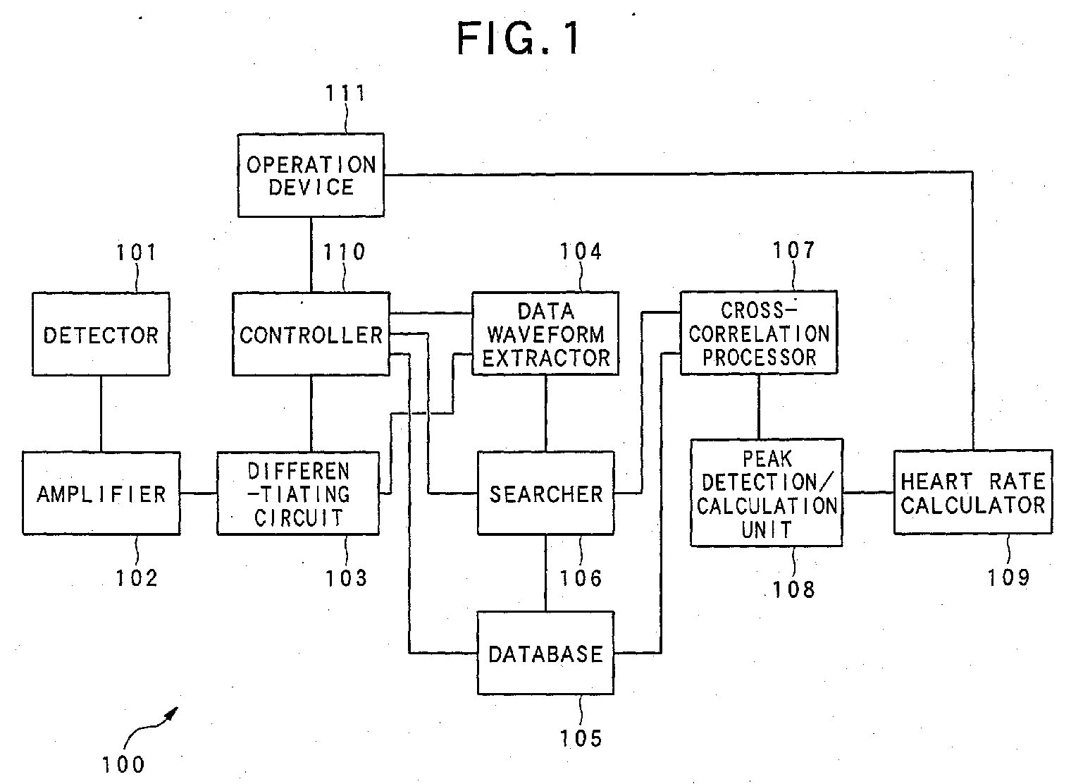
System, method, program, and medium for measuring heart rate
授权日:
1900-01-01
公开(公告)号:
EP1393673A1
申请日:
2003-08-26
公开(公告)日:
2004-03-03
当前申请(专利权)人:
PIONEER CORPORATION
发明人:
YASUSHI, MITSUO PIONEER CORPORATION | YANAGIDAIRA, MASATOSHI PIONEER CORPORATION
简单同族:
EP1393673A1 | JP2004089314A | JP3980969B2 | US20040044292A1 | US7245960
简单同族成员数量:
5
简单同族被引用专利总数:
96
诉讼案件数:
0
法律状态/事件:
撤回