首页
专利数据库
产业人才
行业动态
产业政策法规
维权援助
个人中心
登录/注册
详情
文本
图像
标题:
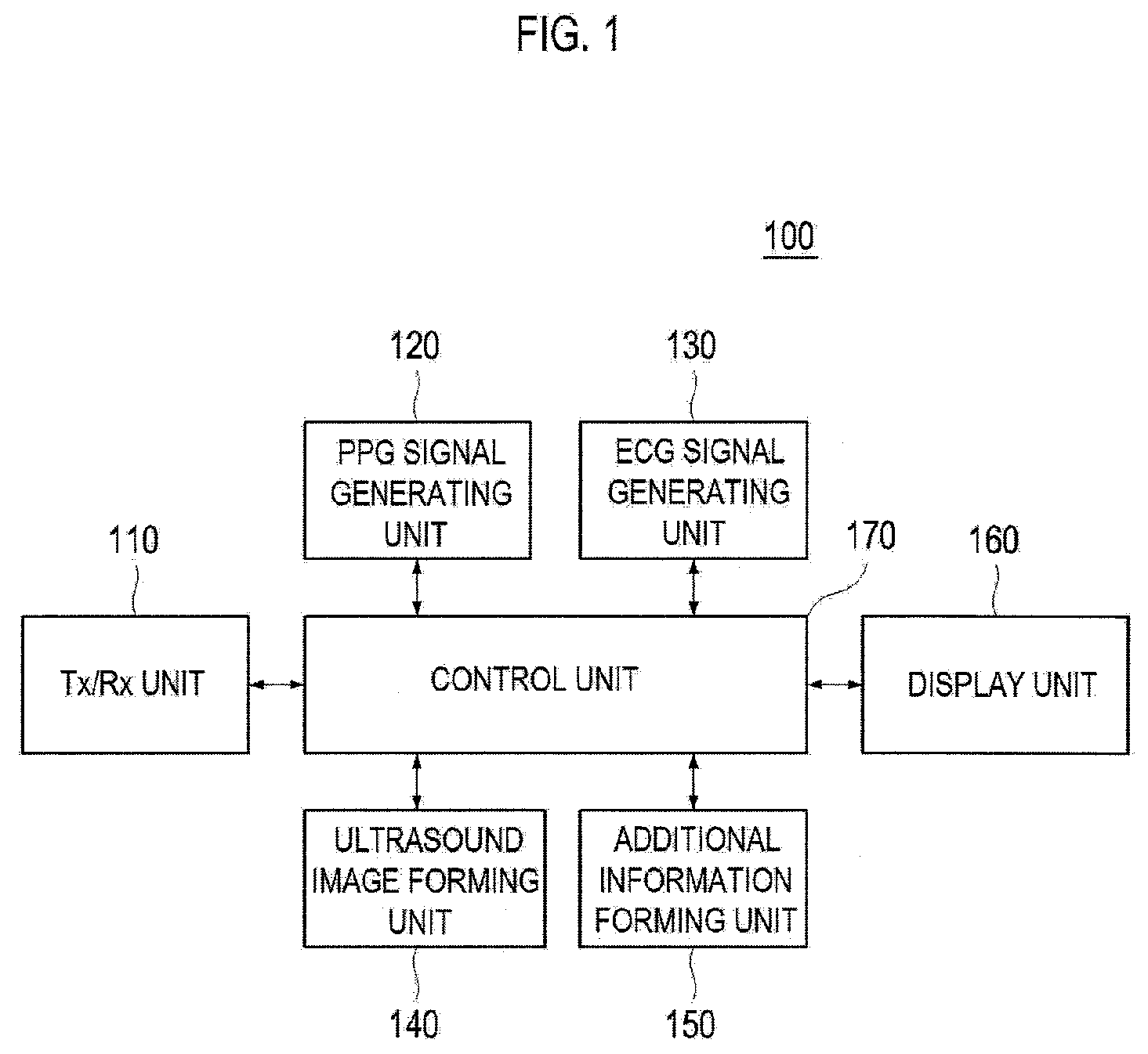
Ultrasound image display with additional information using PPG and ECG signals
授权日:
1900-01-01
公开(公告)号:
EP2182381A1
申请日:
2009-10-16
公开(公告)日:
2010-05-05
当前申请(专利权)人:
MEDISON CO., LTD.
发明人:
PARK, JOONG HOON
简单同族:
EP2182381A1 | JP2010104783A | KR1020100048359A | US20100113905A1
简单同族成员数量:
4
简单同族被引用专利总数:
4
诉讼案件数:
0
法律状态/事件:
撤回