首页
专利数据库
产业人才
行业动态
产业政策法规
维权援助
个人中心
登录/注册
详情
文本
图像
标题:
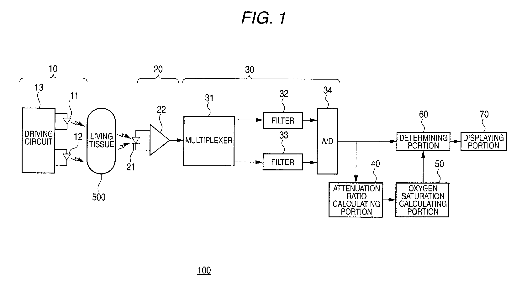
Blood oxygen saturation measuring apparatus
授权日:
1900-01-01
公开(公告)号:
EP2220992A3
申请日:
2010-02-22
公开(公告)日:
2014-01-08
当前申请(专利权)人:
NIHON KOHDEN CORPORATION
发明人:
ONO, YOSHINOBU | KOJIMA, TAKESHI | MOTOGI, JUN
简单同族:
EP2220992A2 | EP2220992A3 | EP2220992B1 | JP2010193949A | JP5196323B2 | US20110046462A1 | US8565846
简单同族成员数量:
7
简单同族被引用专利总数:
14
诉讼案件数:
0
法律状态/事件:
授权