首页
专利数据库
产业人才
行业动态
产业政策法规
维权援助
个人中心
登录/注册
详情
文本
图像
标题:
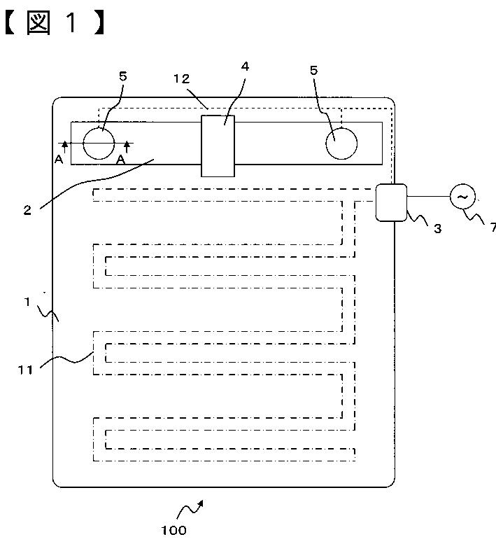
圧力センサ付敷物、及び健康管理装置
授权日:
2013-11-22
公开(公告)号:
JP5415028B2
申请日:
2008-06-26
公开(公告)日:
2014-02-12
当前申请(专利权)人:
パナソニックヘルスケア株式会社
发明人:
野田 聡 | 中野 修
简单同族:
JP2010005140A | JP5415028B2
简单同族成员数量:
2
简单同族被引用专利总数:
6
诉讼案件数:
0
法律状态/事件:
未缴年费 | 权利转移