首页
专利数据库
产业人才
行业动态
产业政策法规
维权援助
个人中心
登录/注册
详情
文本
图像
标题:
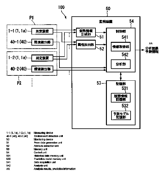
監視システム、監視装置、及び監視方法
授权日:
1900-01-01
公开(公告)号:
JPWO2016170984A1
申请日:
2016-04-06
公开(公告)日:
2018-03-08
当前申请(专利权)人:
シャープ株式会社
发明人:
増田 亮一 | 河西 秀典
简单同族:
JP6483248B2 | JPWO2016170984A1 | US20180110416A1 | WO2016170984A1
简单同族成员数量:
4
简单同族被引用专利总数:
5
诉讼案件数:
0
法律状态/事件:
授权