首页
专利数据库
产业人才
行业动态
产业政策法规
维权援助
个人中心
登录/注册
详情
文本
图像
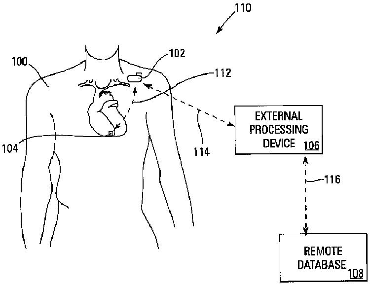
标题:
人体内で行われる心臓血管圧力測定を分析するシステムと方法
授权日:
1900-01-01
公开(公告)号:
JP2009519779A
申请日:
2006-12-12
公开(公告)日:
2009-05-21
当前申请(专利权)人:
カーディアック ペースメイカーズ, インコーポレイテッド
发明人:
ツァング,チェン | ピアジェ,トーマス·ダブリュ | チャビン,アブヒ·ヴイ | ジュファー,ランス·イー | フェイル,ホリー
简单同族:
EP1959822A2 | JP2009519779A | US20070142727A1 | WO2007070794A2 | WO2007070794A3
简单同族成员数量:
5
简单同族被引用专利总数:
109
诉讼案件数:
0
法律状态/事件:
驳回