首页
专利数据库
产业人才
行业动态
产业政策法规
维权援助
个人中心
登录/注册
详情
文本
图像
标题:
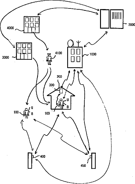
身体情報管理システム
授权日:
1900-01-01
公开(公告)号:
JP2002051990A
申请日:
2000-08-08
公开(公告)日:
2002-02-19
当前申请(专利权)人:
株式会社鷹山
发明人:
高取 直 | 清松 久典
简单同族:
JP2002051990A
简单同族成员数量:
1
简单同族被引用专利总数:
15
诉讼案件数:
0
法律状态/事件:
撤回