首页
专利数据库
产业人才
行业动态
产业政策法规
维权援助
个人中心
登录/注册
详情
文本
图像
标题:
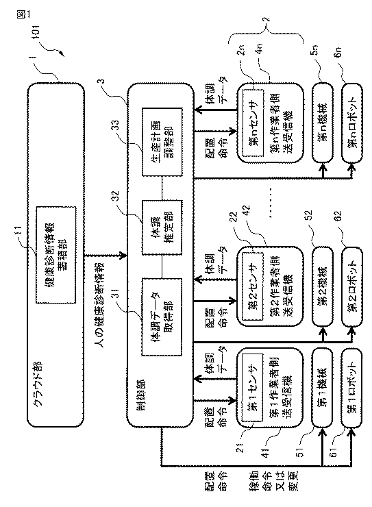
体調情報による生産調整システム
授权日:
1900-01-01
公开(公告)号:
JP2017173899A
申请日:
2016-03-18
公开(公告)日:
2017-09-28
当前申请(专利权)人:
ファナック株式会社
发明人:
松本 要
简单同族:
JP2017173899A | JP6669545B2
简单同族成员数量:
2
简单同族被引用专利总数:
0
诉讼案件数:
0
法律状态/事件:
授权