首页
专利数据库
产业人才
行业动态
产业政策法规
维权援助
个人中心
登录/注册
详情
文本
图像
标题:
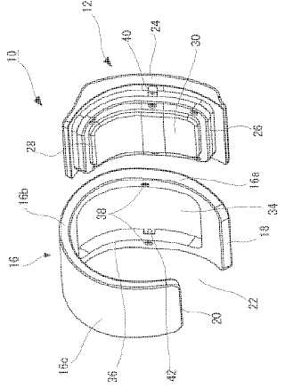
手首装着型の生体測定装置用のバンド
授权日:
1900-01-01
公开(公告)号:
JP2008168054A
申请日:
2007-01-15
公开(公告)日:
2008-07-24
当前申请(专利权)人:
シチズンホールディングス株式会社
发明人:
二上 茂 | 河西 恒春 | 清水 秀樹 | 丹澤 広基 | 福島 信人
简单同族:
JP2008168054A | WO2008087870A1
简单同族成员数量:
2
简单同族被引用专利总数:
83
诉讼案件数:
0
法律状态/事件:
撤回