首页
专利数据库
产业人才
行业动态
产业政策法规
维权援助
个人中心
登录/注册
详情
文本
图像
标题:
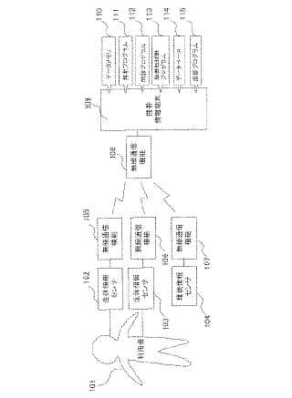
健康管理装置及びこれを機能させるためのプログラム
授权日:
1900-01-01
公开(公告)号:
JP2008011865A
申请日:
2004-10-27
公开(公告)日:
2008-01-24
当前申请(专利权)人:
シャープ株式会社
发明人:
佐藤 文代 | 曽根 基樹 | 和辻 徹 | 山本 義春
简单同族:
JP2008011865A | WO2006046648A1
简单同族成员数量:
2
简单同族被引用专利总数:
112
诉讼案件数:
0
法律状态/事件:
撤回