首页
专利数据库
产业人才
行业动态
产业政策法规
维权援助
个人中心
登录/注册
详情
文本
图像
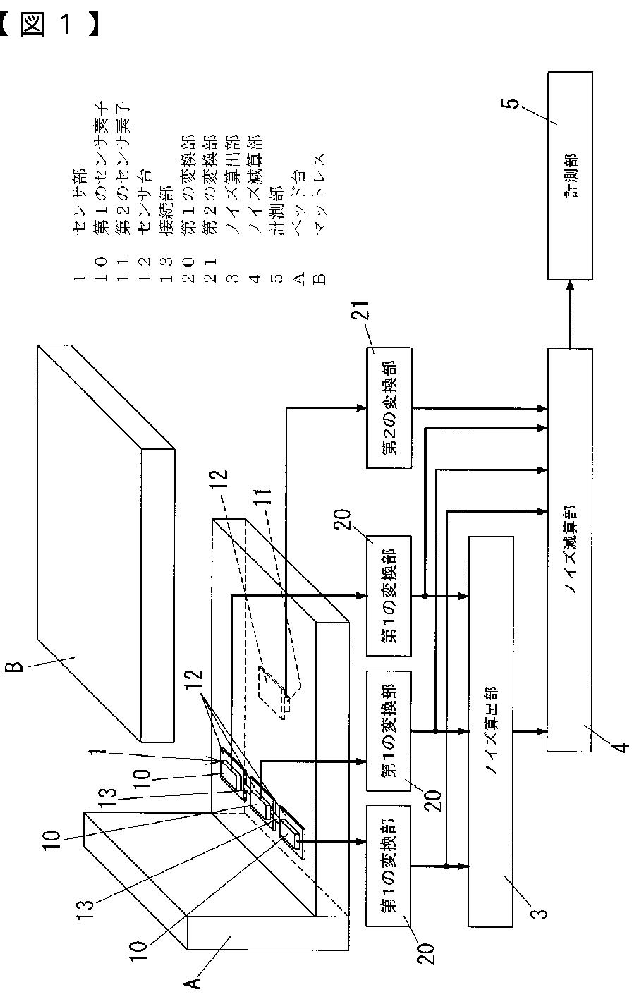
标题:
心拍呼吸計測装置
授权日:
2013-02-08
公开(公告)号:
JP5192904B2
申请日:
2008-05-21
公开(公告)日:
2013-05-08
当前申请(专利权)人:
パナソニック株式会社
发明人:
寺澤 章 | 山本 雅一 | 栗原 崇浩
简单同族:
JP2009279143A | JP5192904B2
简单同族成员数量:
2
简单同族被引用专利总数:
7
诉讼案件数:
0
法律状态/事件:
未缴年费 | 权利转移