首页
专利数据库
产业人才
行业动态
产业政策法规
维权援助
个人中心
登录/注册
详情
文本
图像
标题:
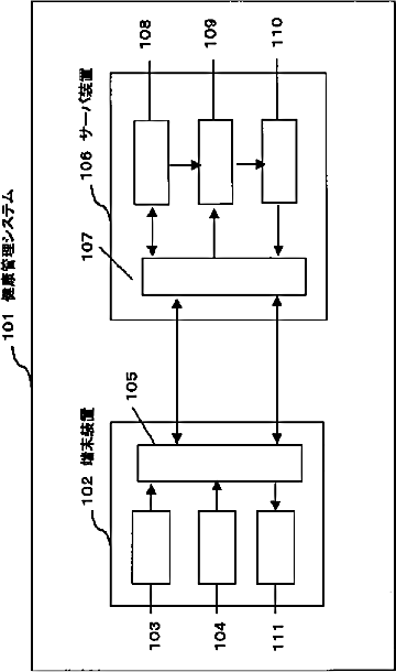
健康管理システム
授权日:
1900-01-01
公开(公告)号:
JP2003263503A
申请日:
2002-03-08
公开(公告)日:
2003-09-19
当前申请(专利权)人:
松下電器産業株式会社
发明人:
山本 雅代 | 山本 照夫 | 白石 孝子
简单同族:
JP2003263503A
简单同族成员数量:
1
简单同族被引用专利总数:
5
诉讼案件数:
0
法律状态/事件:
撤回