标题:
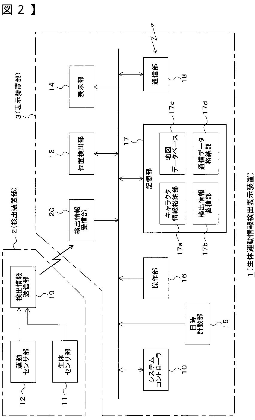
生体運動情報表示処理装置、生体運動情報処理システム
授权日:
2010-05-14
公开(公告)号:
JP4506795B2
申请日:
2007-08-06
公开(公告)日:
2010-07-21
当前申请(专利权)人:
ソニー株式会社
发明人:
佐野 あかね | 飛鳥井 正道 | 伊藤 大二 | 佐古 曜一郎
简单同族:
CN101363743A | CN101363743B | JP2009039157A | JP2009039157A5 | JP4506795B2 | US10262449 | US10529114 | US20090040231A1 | US20140306884A1 | US20170109919A1 | US20180232931A1 | US20190197757A1 | US20200098157A1 | US8797331 | US9568998 | US9972116
简单同族成员数量:
16
简单同族被引用专利总数:
125
诉讼案件数:
0
法律状态/事件:
授权