首页
专利数据库
产业人才
行业动态
产业政策法规
维权援助
个人中心
登录/注册
详情
文本
图像
标题:
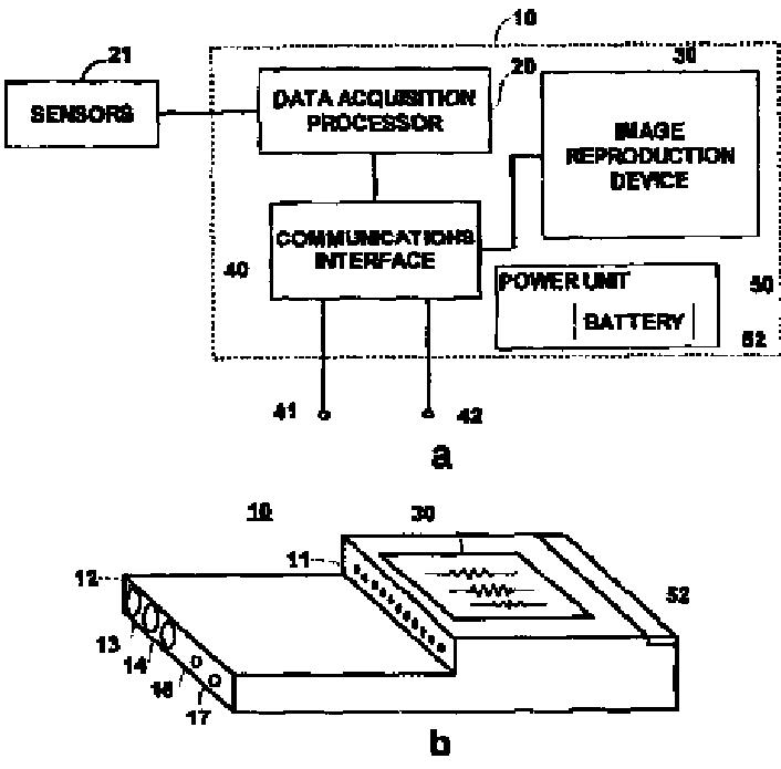
複数の動作モードにおいて患者パラメータを監視および処理する携帯型システム
授权日:
1900-01-01
公开(公告)号:
JP2007521048A
申请日:
2003-12-05
公开(公告)日:
2007-08-02
当前申请(专利权)人:
ドレーガー メディカル システムズ インコーポレイテッド
发明人:
レヴィ アンドリュー エル. | ショルツ ウォルフガング | ラス トーマス | ケリー クリフォード エム. | エラズ ジョセフ | フックス ケネス
简单同族:
CN100518625C | CN1859868A | EP1691674A1 | JP2007521048A
简单同族成员数量:
4
简单同族被引用专利总数:
8
诉讼案件数:
0
法律状态/事件:
驳回