首页
专利数据库
产业人才
行业动态
产业政策法规
维权援助
个人中心
登录/注册
详情
文本
图像
标题:
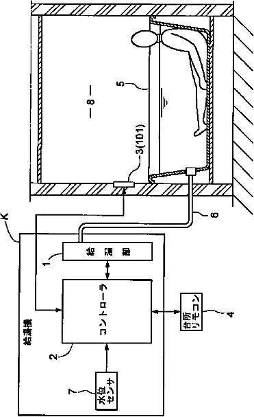
入浴情報システム
授权日:
1900-01-01
公开(公告)号:
JP2003225276A
申请日:
2002-02-05
公开(公告)日:
2003-08-12
当前申请(专利权)人:
大阪瓦斯株式会社
发明人:
藤井 元 | 出馬 弘昭 | 竹森 利和 | 河村 真一
简单同族:
JP2003225276A | JP4107848B2
简单同族成员数量:
2
简单同族被引用专利总数:
14
诉讼案件数:
0
法律状态/事件:
授权