首页
专利数据库
产业人才
行业动态
产业政策法规
维权援助
个人中心
登录/注册
详情
文本
图像
标题:
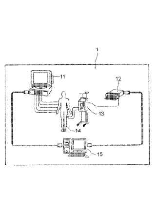
ベッドサイド情報システム
授权日:
1900-01-01
公开(公告)号:
JP2004248793A
申请日:
2003-02-19
公开(公告)日:
2004-09-09
当前申请(专利权)人:
日本フィリップス株式会社 | 旭メディカル株式会社
发明人:
木内 陽介 | 黒田 泰弘 | 芥川 正武 | 岡久 稔也 | 大西 芳明
简单同族:
EP1597693A2 | JP2004248793A | US20060161091A1 | US7297129 | WO2004074966A2 | WO2004074966A3 | WO2004074966A8
简单同族成员数量:
7
简单同族被引用专利总数:
78
诉讼案件数:
0
法律状态/事件:
驳回 | 权利转移