首页
专利数据库
产业人才
行业动态
产业政策法规
维权援助
个人中心
登录/注册
详情
文本
图像
标题:
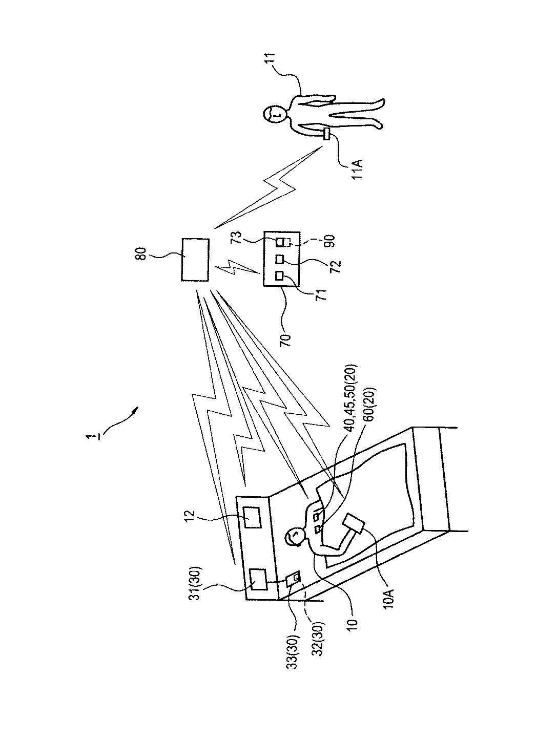
医療業務支援装置、医療業務支援システム及び医療業務支援方法
授权日:
1900-01-01
公开(公告)号:
JP2018198009A
申请日:
2017-05-24
公开(公告)日:
2018-12-13
当前申请(专利权)人:
日本光電工業株式会社
发明人:
今野 徳人 | 荻野 博一 | 松村 文幸 | 池谷 浩彦
简单同族:
JP2018198009A | US10426344 | US20180338683A1
简单同族成员数量:
3
简单同族被引用专利总数:
0
诉讼案件数:
0
法律状态/事件:
实质审查