首页
专利数据库
产业人才
行业动态
产业政策法规
维权援助
个人中心
登录/注册
详情
文本
图像
标题:
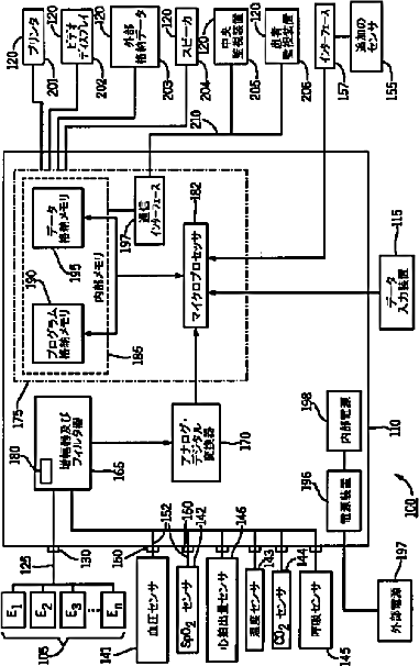
非侵襲性心拍出量監視による患者の監視装置及び方法
授权日:
1900-01-01
公开(公告)号:
JP2003220045A
申请日:
2002-12-19
公开(公告)日:
2003-08-05
当前申请(专利权)人:
ジーイー·メディカル·システムズ·インフォメーション·テクノロジーズ·インコーポレーテッド
发明人:
エリック·ニールセン | パトリック·エー·バン·リュジン
简单同族:
DE10259780A1 | FR2834628A1 | FR2834628B1 | JP2003220045A | JP2003220045A5 | JP4280806B2 | US20030120164A1 | US6829501
简单同族成员数量:
8
简单同族被引用专利总数:
363
诉讼案件数:
0
法律状态/事件:
未缴年费