首页
专利数据库
产业人才
行业动态
产业政策法规
维权援助
个人中心
登录/注册
详情
文本
图像
标题:
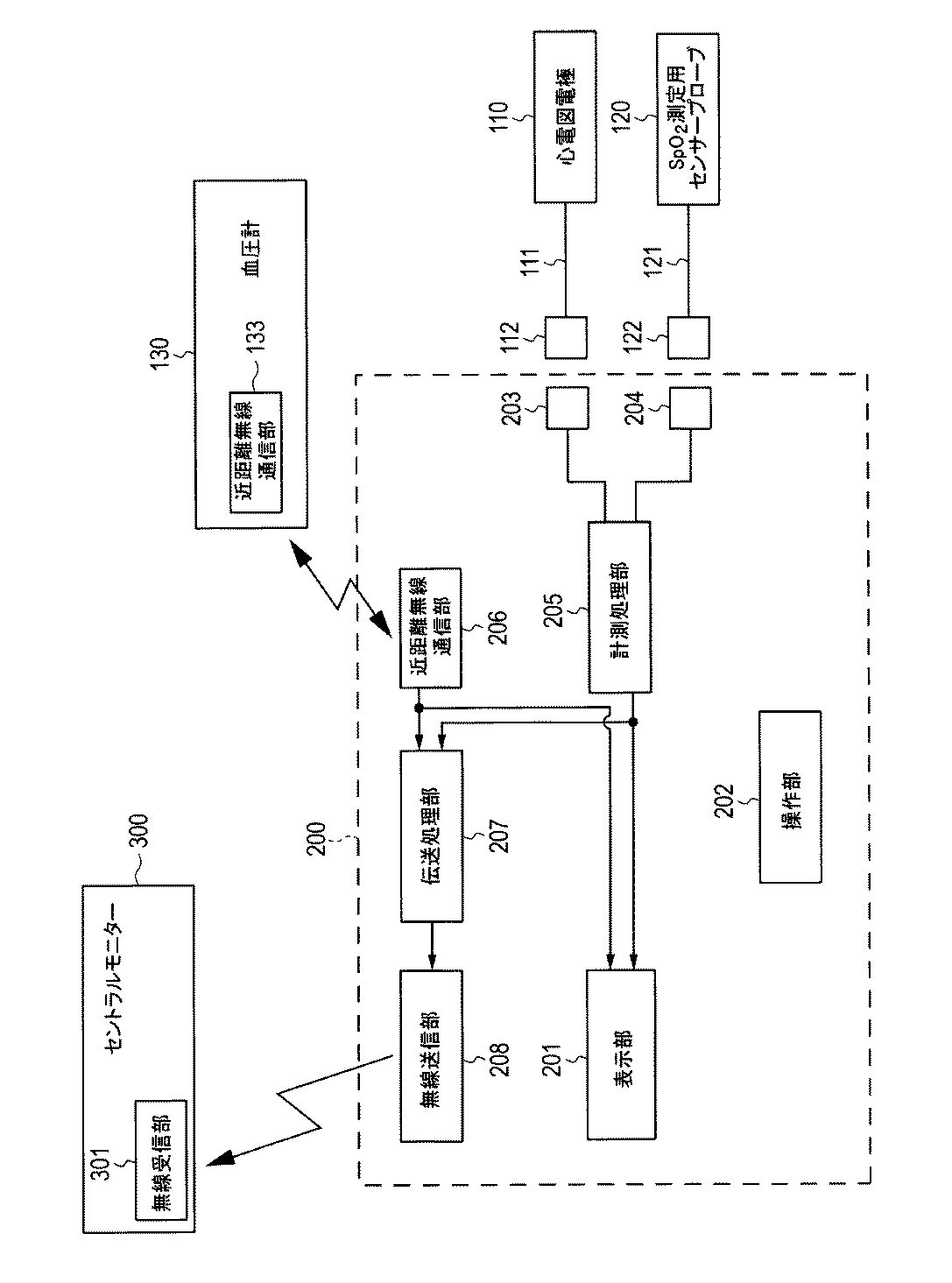
生体情報のためのシステム及び装置
授权日:
1900-01-01
公开(公告)号:
JP2018102941A
申请日:
2018-02-07
公开(公告)日:
2018-07-05
当前申请(专利权)人:
フクダ電子株式会社
发明人:
神坂 健一 | 米川 康弘 | 長井 克弥 | 犬飼 英克 | 小泉 勝弘 | 福永 岳仁 | 石井 克人 | 村松 克己
简单同族:
JP2018102941A
简单同族成员数量:
1
简单同族被引用专利总数:
0
诉讼案件数:
0
法律状态/事件:
驳回