首页
专利数据库
产业人才
行业动态
产业政策法规
维权援助
个人中心
登录/注册
详情
文本
图像
标题:
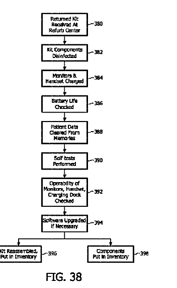
ECG監視システムを改修するための方法
授权日:
1900-01-01
公开(公告)号:
JP2011514827A
申请日:
2009-03-04
公开(公告)日:
2011-05-12
当前申请(专利权)人:
コーニンクレッカ フィリップス エレクトロニクス エヌ ヴィ
发明人:
ビシェイ ジョン | ソロスコ トーマス | ハーレイクソン アール | マウサー コリネ | スウィート キャメロン | クヲン サミュエル | コナ ヒマヴァリ | カオ チュニ | フォン シャノン
简单同族:
BRPI0910823A2 | CN101971196A | EP2263197A1 | JP2011514827A | RU2010141537A | WO2009112978A1
简单同族成员数量:
6
简单同族被引用专利总数:
73
诉讼案件数:
0
法律状态/事件:
驳回