首页
专利数据库
产业人才
行业动态
产业政策法规
维权援助
个人中心
登录/注册
详情
文本
图像
标题:
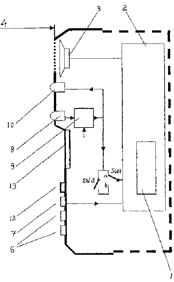
医療的診断およびリハビリのための多機能携帯電話。
授权日:
1900-01-01
公开(公告)号:
JP2005519686A
申请日:
2003-03-11
公开(公告)日:
2005-07-07
当前申请(专利权)人:
イーアールエー センター ピーティーワイ リミテッド
发明人:
ヤヌス ノボシアールスキー
简单同族:
AT535096T | CN1653787A | CN1653787B | EP1488618A1 | EP1488618A4 | EP1488618B1 | JP2005519686A | MXPA04008786A | US20050124375A1 | WO2003077511A1
简单同族成员数量:
10
简单同族被引用专利总数:
106
诉讼案件数:
0
法律状态/事件:
撤回