首页
专利数据库
产业人才
行业动态
产业政策法规
维权援助
个人中心
登录/注册
详情
文本
图像
标题:
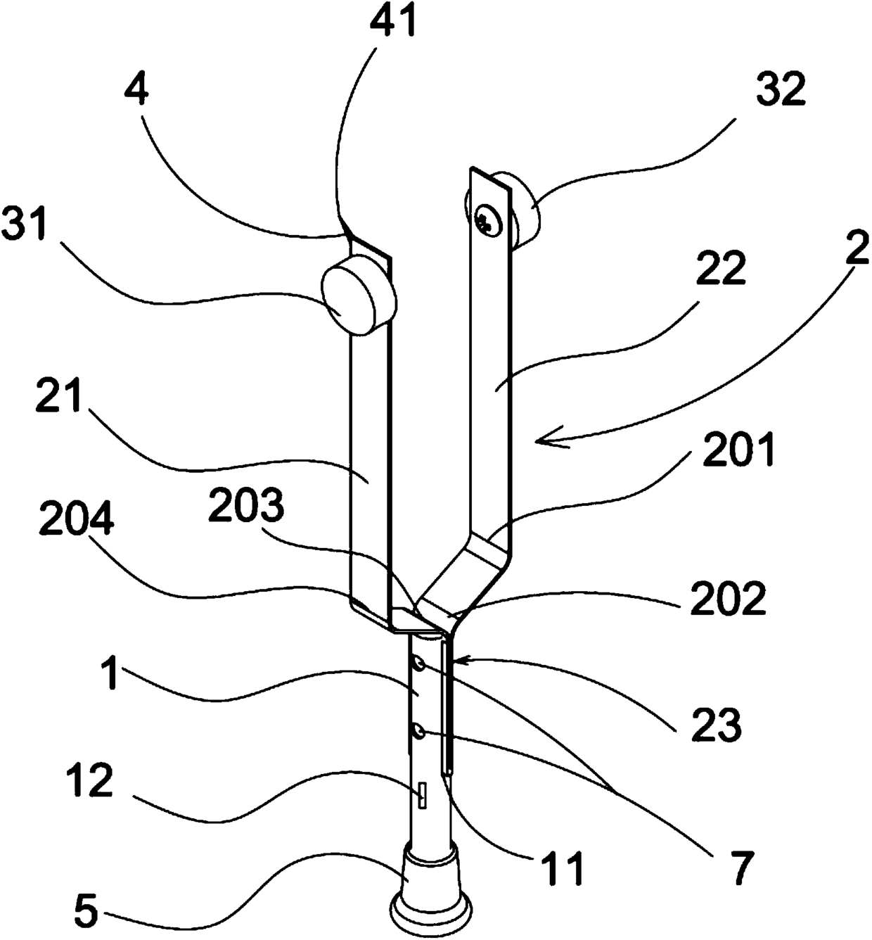
一种末梢神经状态筛查器
授权日:
1900-01-01
公开(公告)号:
CN104720744A
申请日:
2013-12-18
公开(公告)日:
2015-06-24
当前申请(专利权)人:
无锡市凯顺医疗器械制造有限公司
发明人:
单希杰
简单同族:
CN104720744A | CN104720744B
简单同族成员数量:
2
简单同族被引用专利总数:
0
诉讼案件数:
0
法律状态/事件:
授权