首页
专利数据库
产业人才
行业动态
产业政策法规
维权援助
个人中心
登录/注册
详情
文本
图像
标题:
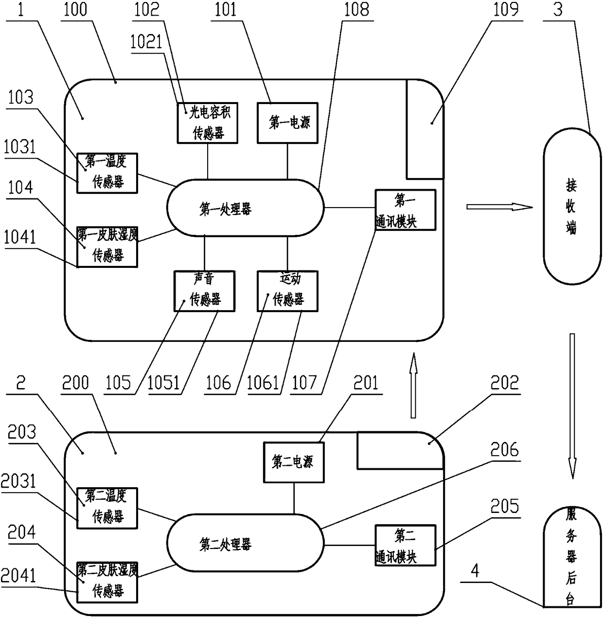
一种多参数识别婴儿啼哭声的装置
授权日:
2018-06-19
公开(公告)号:
CN207506567U
申请日:
2017-05-11
公开(公告)日:
2018-06-19
当前申请(专利权)人:
苏州辰逸新声电子科技有限公司
发明人:
赵可成 | 张平
简单同族:
CN207506567U
简单同族成员数量:
1
简单同族被引用专利总数:
0
诉讼案件数:
0
法律状态/事件:
授权 | 权利转移