首页
专利数据库
产业人才
行业动态
产业政策法规
维权援助
个人中心
登录/注册
详情
文本
图像
标题:
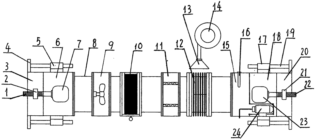
猪咳嗽声音监测设备保护装置
授权日:
2018-03-06
公开(公告)号:
CN105615837B
申请日:
2016-01-27
公开(公告)日:
2018-03-06
当前申请(专利权)人:
黑龙江八一农垦大学
发明人:
谢秋菊 | 于海明 | 马铁民 | 刘金明 | 王雪
简单同族:
CN105615837A | CN105615837B
简单同族成员数量:
2
简单同族被引用专利总数:
0
诉讼案件数:
0
法律状态/事件:
授权