标题:
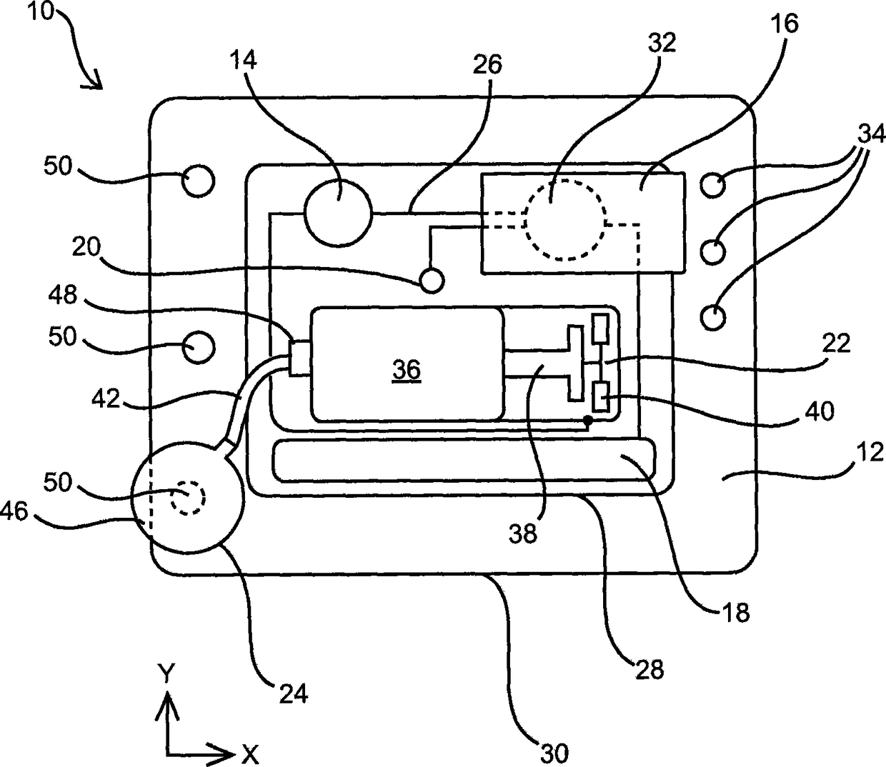
用于流体递送和监测体内分析物的柔性贴片
授权日:
2013-03-20
公开(公告)号:
CN101528282B
申请日:
2007-10-22
公开(公告)日:
2013-03-20
当前申请(专利权)人:
雅培糖尿病护理公司
发明人:
加里·阿什利·斯塔福德
简单同族:
AU2007309070A1 | AU2007309070B2 | BRPI0718065A2 | CA2667305A1 | CN101528282A | CN101528282B | EP2083878A2 | EP2083878A4 | JP2010507457A | JP2014030745A | JP5727555B2 | MX2009004322A | RU2009119430A | RU2481579C2 | US10363363 | US20080119707A1 | US20120190952A1 | US20160151569A1 | US20190298921A1 | US9259175 | WO2008051924A2 | WO2008051924A3
简单同族成员数量:
22
简单同族被引用专利总数:
225
诉讼案件数:
0
法律状态/事件:
授权