首页
专利数据库
产业人才
行业动态
产业政策法规
维权援助
个人中心
登录/注册
详情
文本
图像
标题:
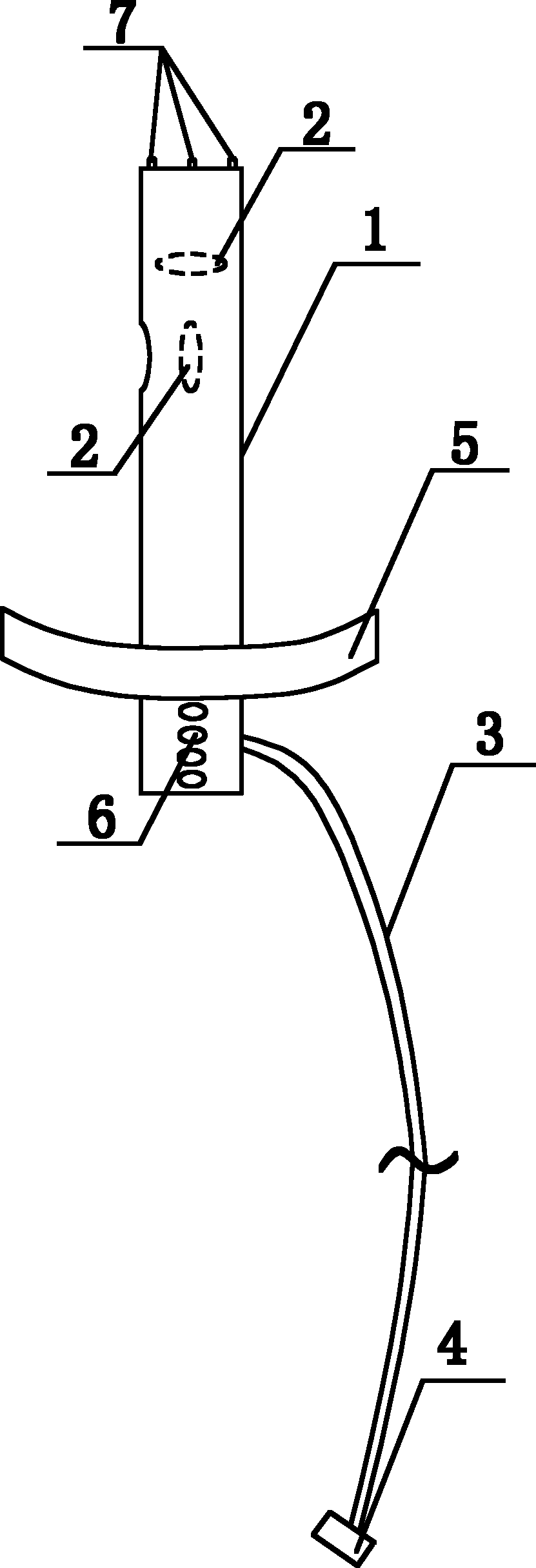
多功能阴道宫颈检测仪
授权日:
2012-11-14
公开(公告)号:
CN202526145U
申请日:
2012-04-06
公开(公告)日:
2012-11-14
当前申请(专利权)人:
上海法路源医疗器械有限公司
发明人:
黄健
简单同族:
CN202526145U
简单同族成员数量:
1
简单同族被引用专利总数:
9
诉讼案件数:
0
法律状态/事件:
授权 | 权利转移