首页
专利数据库
产业人才
行业动态
产业政策法规
维权援助
个人中心
登录/注册
详情
文本
图像
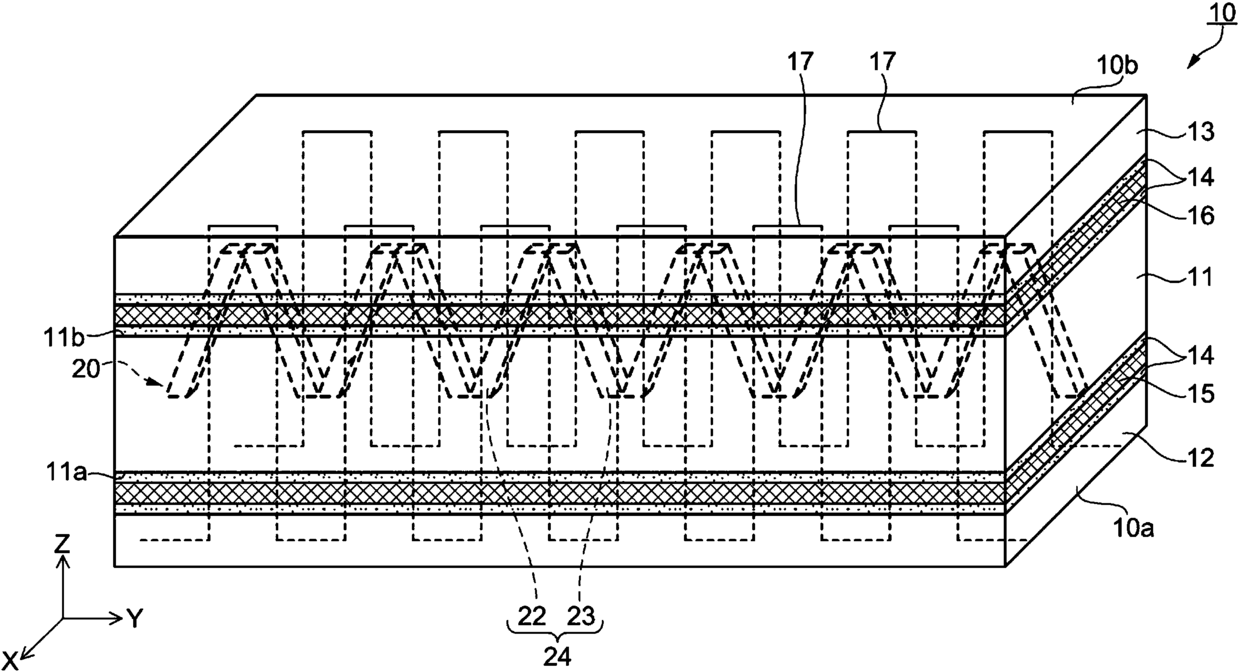
标题:
热流计及电子设备
授权日:
1900-01-01
公开(公告)号:
CN105919552A
申请日:
2016-02-25
公开(公告)日:
2016-09-07
当前申请(专利权)人:
精工爱普生株式会社
发明人:
池田阳 | 清水兴子
简单同族:
CN105919552A | EP3061389A1 | JP2016161311A | JP2016161311A5 | US10260965 | US20160252407A1
简单同族成员数量:
6
简单同族被引用专利总数:
6
诉讼案件数:
0
法律状态/事件:
实质审查