首页
专利数据库
产业人才
行业动态
产业政策法规
维权援助
个人中心
登录/注册
详情
文本
图像
标题:
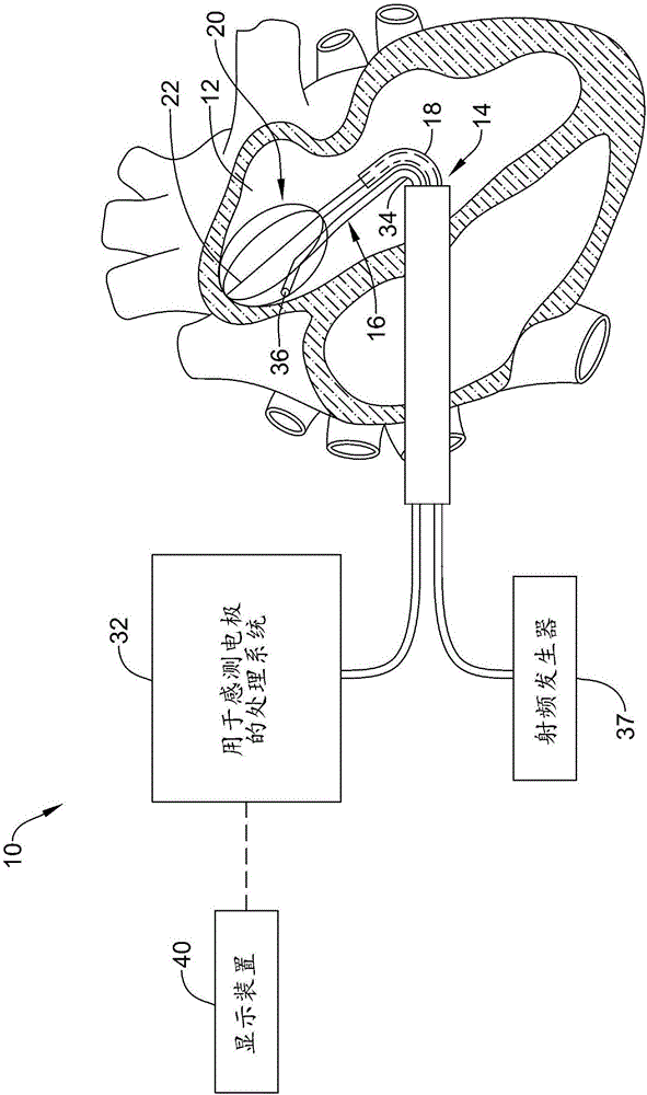
用于标测心脏组织的医疗装置和用于显示标测数据的方法
授权日:
1900-01-01
公开(公告)号:
CN106061371A
申请日:
2015-02-25
公开(公告)日:
2016-10-26
当前申请(专利权)人:
波士顿科学医学有限公司
发明人:
J·I·拉夫纳 | S·肖姆 | K·J·施塔尔贝格 | S·A·梅尔
简单同族:
CN106061371A | EP3113672A1 | JP2017512113A | JP6248217B2 | US20150254893A1 | US20170221262A1 | WO2015134248A1
简单同族成员数量:
7
简单同族被引用专利总数:
8
诉讼案件数:
0
法律状态/事件:
撤回