首页
专利数据库
产业人才
行业动态
产业政策法规
维权援助
个人中心
登录/注册
详情
文本
图像
标题:
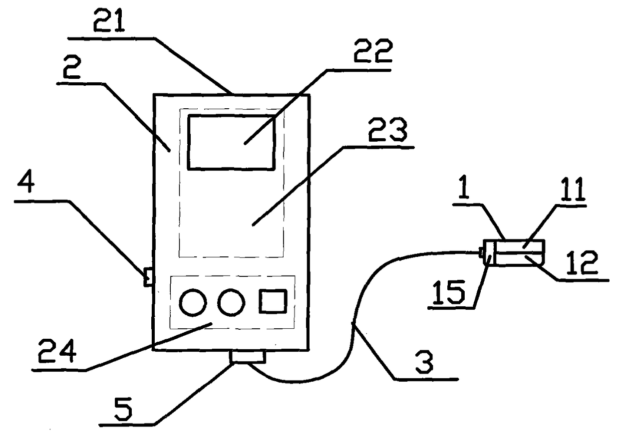
人体出汗数字化检测仪
授权日:
1900-01-01
公开(公告)号:
CN102133085A
申请日:
2010-01-22
公开(公告)日:
2011-07-27
当前申请(专利权)人:
北京国浩传感器技术研究院(普通合伙)
发明人:
罗贤波 | 韩跃 | 郭兴玲 | 刘靖 | 陈哲 | 王芬
简单同族:
CN102133085A | CN102133085B
简单同族成员数量:
2
简单同族被引用专利总数:
11
诉讼案件数:
0
法律状态/事件:
未缴年费