首页
专利数据库
产业人才
行业动态
产业政策法规
维权援助
个人中心
登录/注册
详情
文本
图像
标题:
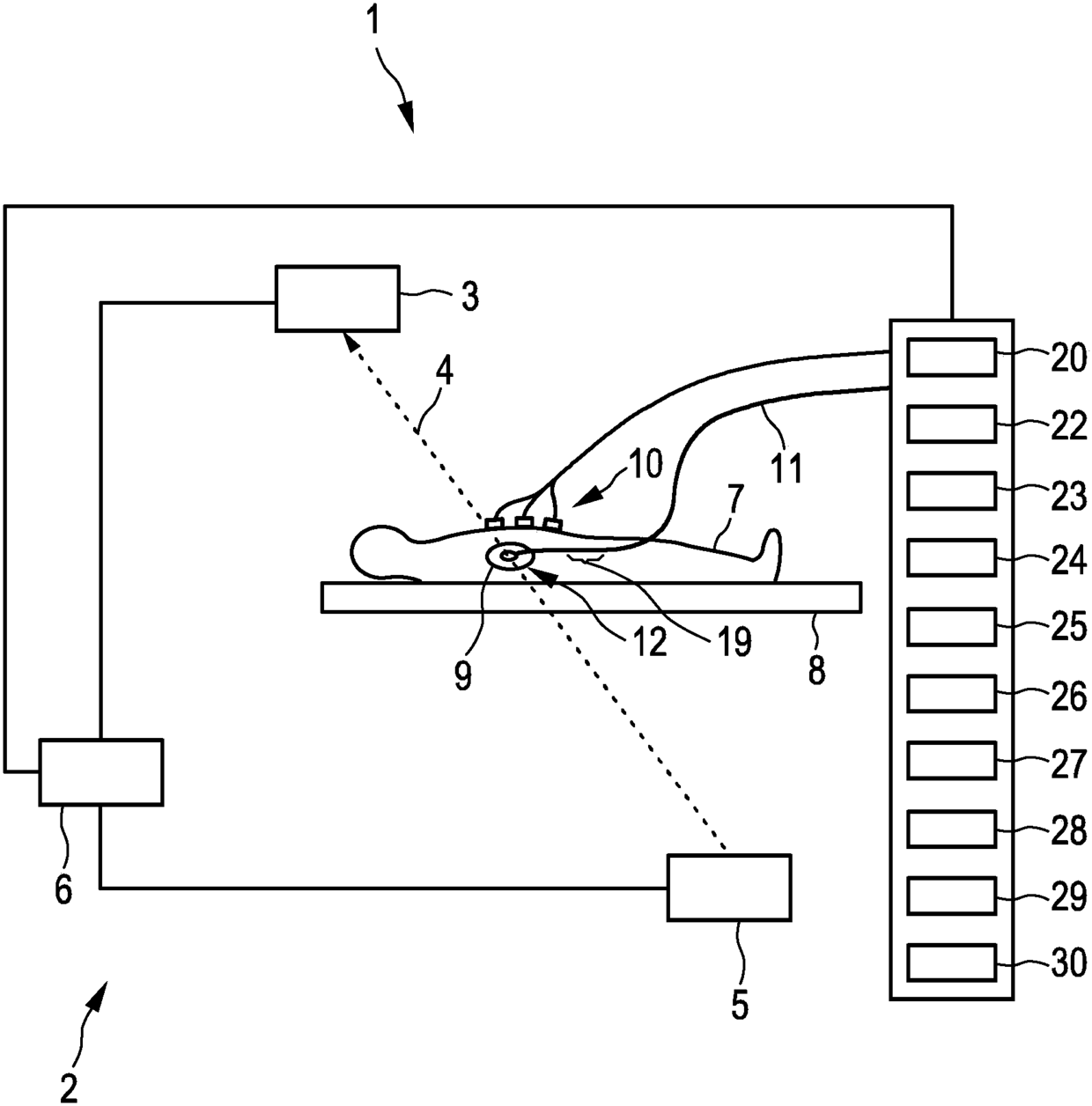
介入系统
授权日:
1900-01-01
公开(公告)号:
CN105073172A
申请日:
2014-01-28
公开(公告)日:
2015-11-18
当前申请(专利权)人:
皇家飞利浦有限公司
发明人:
S·H·德尼森
简单同族:
BR112015019171A2 | CN105073172A | CN105073172B | EP2956195A1 | JP2016508399A | JP2016508399A5 | RU2015138916A | US20160015293A1 | WO2014125388A1
简单同族成员数量:
9
简单同族被引用专利总数:
4
诉讼案件数:
0
法律状态/事件:
授权