首页
专利数据库
产业人才
行业动态
产业政策法规
维权援助
个人中心
登录/注册
详情
文本
图像
标题:
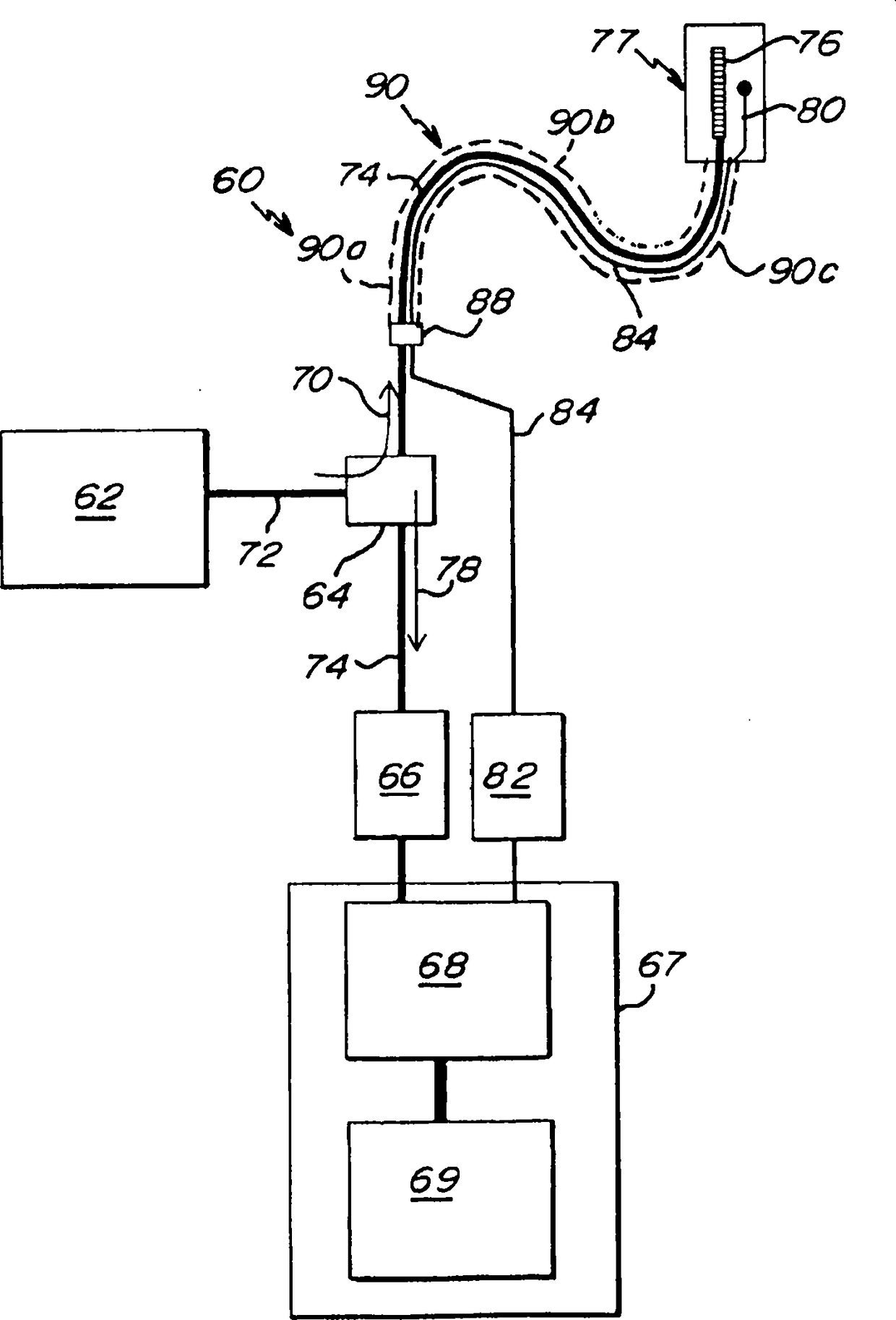
温度补偿应变感测导管
授权日:
2014-05-28
公开(公告)号:
CN102098974B
申请日:
2009-05-13
公开(公告)日:
2014-05-28
当前申请(专利权)人:
圣犹达医疗用品国际控股有限公司
发明人:
G·利奥 | N·埃比 | Y·万宁科夫
简单同族:
CN102098974A | CN102098974B | EP2291135A2 | EP2291135B1 | JP2011520499A | JP5572155B2 | US20090287092A1 | US8298227 | WO2009138957A2 | WO2009138957A3
简单同族成员数量:
10
简单同族被引用专利总数:
124
诉讼案件数:
0
法律状态/事件:
授权 | 权利转移