首页
专利数据库
产业人才
行业动态
产业政策法规
维权援助
个人中心
登录/注册
详情
文本
图像
标题:
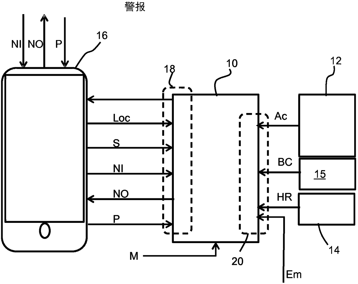
用于确定呼吸发作的风险水平的系统和方法
授权日:
1900-01-01
公开(公告)号:
CN108701496A
申请日:
2017-02-28
公开(公告)日:
2018-10-23
当前申请(专利权)人:
皇家飞利浦有限公司
发明人:
K·卡拉卡亚 | R·M·阿尔特斯 | M·P·J·屈嫩 | K·H·J·德利莫雷
简单同族:
CN108701496A | EP3423966A1 | JP2019512137A | WO2017148876A1
简单同族成员数量:
4
简单同族被引用专利总数:
8
诉讼案件数:
0
法律状态/事件:
实质审查