首页
专利数据库
产业人才
行业动态
产业政策法规
维权援助
个人中心
登录/注册
详情
文本
图像
标题:
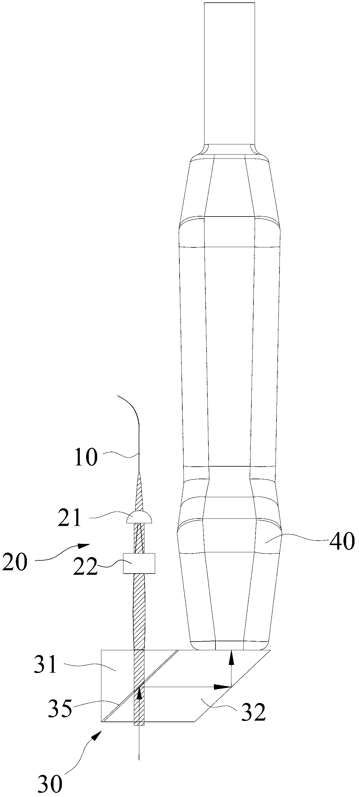
高性能手持式光声成像探头
授权日:
1900-01-01
公开(公告)号:
CN103385697A
申请日:
2013-07-29
公开(公告)日:
2013-11-13
当前申请(专利权)人:
深圳先进技术研究院
发明人:
宋亮 | 刘成波 | 白晓淞 | 林日强
简单同族:
CN103385697A
简单同族成员数量:
1
简单同族被引用专利总数:
5
诉讼案件数:
0
法律状态/事件:
驳回